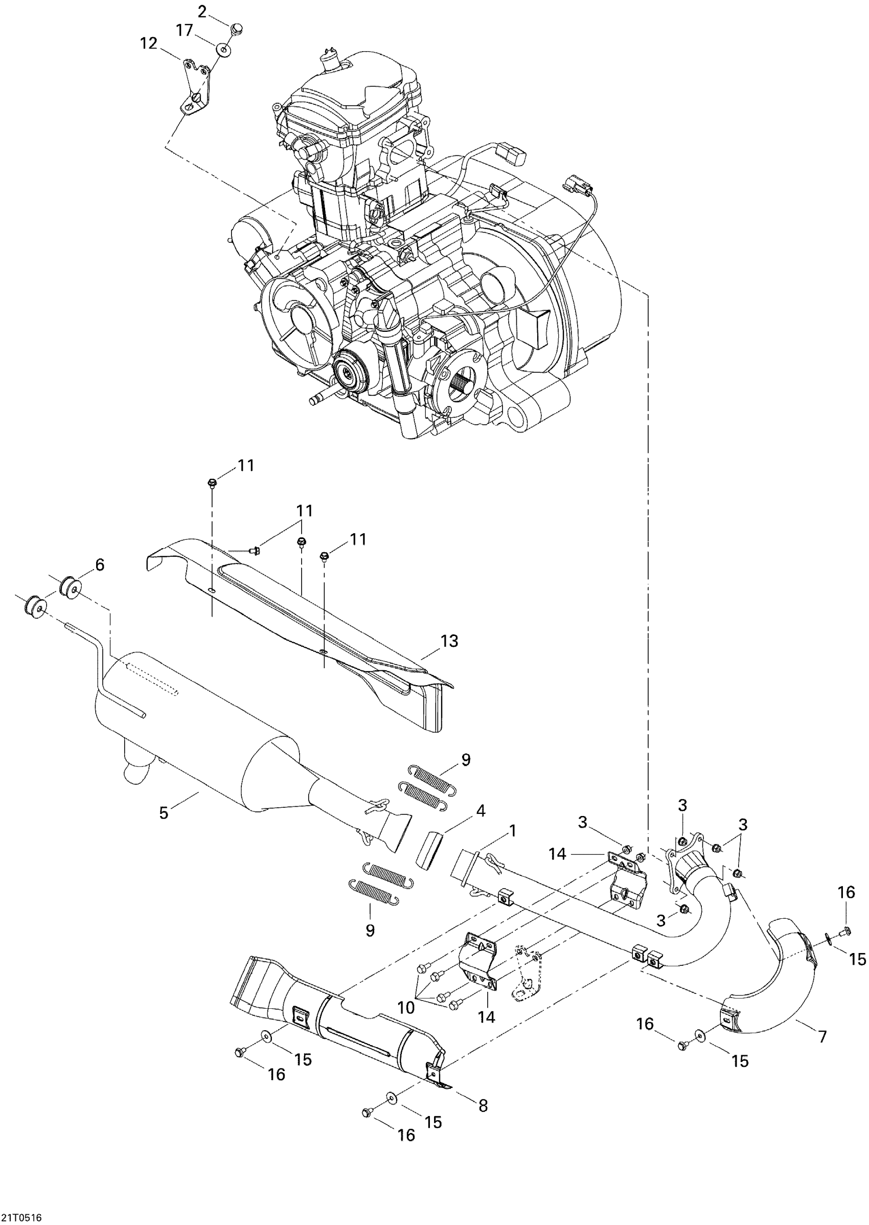
Can-Am Traxter CVT (500, 650, 650 XT), 2005 Exhaust System Diagram
#
Description
Price
1
TUNED PIPE - Call your local BRP dealership
707600084
Unavailable
4
Pipe Gasket
707600164
Unavailable
5
Tuned Pipe
707600230
Unavailable
7
Heat Shield Black
707600167
Unavailable
8
Heat Shield Black
707600168
Unavailable
9
SPRING - Call your local BRP dealership
707600177
Unavailable
12
Exhaust Support
707600131
Unavailable
13
Heat Shield
707600076
Unavailable
14
Exhaust Clamp
707600165
Unavailable
16
HEX. FLANGED SCREW M6 X 12 - Call your local BRP dealership
250000073
Unavailable
