- Partiron
- OEM Parts
- Can-Am
- ATV
- 2002
- Traxter Autoshift
- Traxter Autoshift, 2002
Drive System, Front
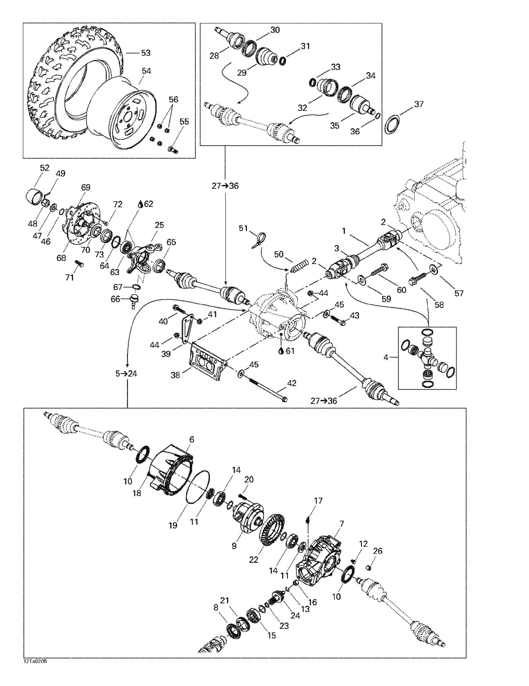
Can-Am Traxter Autoshift, 2002 Drive System, Front Diagram
#
1
Front Propeller Shaft Kit
703500001
Unavailable
3
PROTECTOR - Call your local BRP dealership
705400051
Unavailable
5
Not Available As Spare Part - Friction Washer
Unavailable
6
Front Cover
705400099
Unavailable
7
Differential Carrier
705500177
Unavailable
9
DIFFERENTIAL - Call your local BRP dealership
705400404
Unavailable
10
OIL SEAL - Call your local BRP dealership
705400019
Unavailable
13
RETAINING RING - Call your local BRP dealership | 4X4
705500269
Unavailable
17
VENT VALVE - Call your local BRP dealership | 4X4
705500893
Unavailable
20
RING GEAR SCREW - Call your local BRP dealership | 4X4
705400101
Unavailable
22
Crown Gear
705400103
Unavailable
24
GEAR, 10 TEETH - Call your local BRP dealership | 4X4
705500268
Unavailable
25
RH Knuckle
709400095
Unavailable
LH KNUCKLE - Call your local BRP dealership
709400097
Unavailable
26
Fill level plug
705500228
Unavailable
27
RH CV JOINT - Call your local BRP dealership | Includes 32 to 41
705400125
Unavailable
LH CV JOINT - Call your local BRP dealership | Includes 32 to 41
705400124
Unavailable
28
CV JOINT - Call your local BRP dealership
705400093
Unavailable
30
Not Available As Spare Part - Friction Washer
Unavailable
31
CLAMP - Call your local BRP dealership | 4X4
705400064
Unavailable
33
CLAMP - Call your local BRP dealership | 4X4
705400064
Unavailable
34
Not Available As Spare Part - Friction Washer
Unavailable
35
RH Plunging Joint
705400128
Unavailable
LH Plunging Joint
705400129
Unavailable
36
CIRCLIP - Call your local BRP dealership | 4X4
705400042
Unavailable
37
Wear Ring
705400016
Unavailable
38
Bracket (Differential)
705400068
Unavailable
39
RH Diffential Front Bracket
705400069
Unavailable
42
Flange Screw M10 X 200, Scotch Grip
250000024
Unavailable
43
HEX. FLANGED SCREW M10 X 60, SCOTCH GRIP - Call your local BRP dealership | 7413/7414. 7415/7416. 7417/7418.
207506044
Unavailable
45
Flat Washer
250200003
Unavailable
46
O-RING - Call your local BRP dealership
705500271
Unavailable
47
WASHER - Call your local BRP dealership
250200019
Unavailable
52
WHEEL CAP - Call your local BRP dealership
705400012
Unavailable
54
Front Rim
705400010
Unavailable
56
HEX. NUT - Call your local BRP dealership
705400013
Unavailable
62
Synthetic Grease, 400 G
293550010
Unavailable
68
Brake disc 205 mm
705600168
Unavailable
69
Wheel Hub Ass'y | Includes 50 - 52.
705500254
Unavailable
70
WEAR RING - Call your local BRP dealership
705500100
Unavailable
73
OIL SEAL - Call your local BRP dealership
705500099
Unavailable
