Polaris TRAIL BOSS - W98AA25C STEERING POST - W98AA25C (4945314531B008) Diagram
#
Description
Price
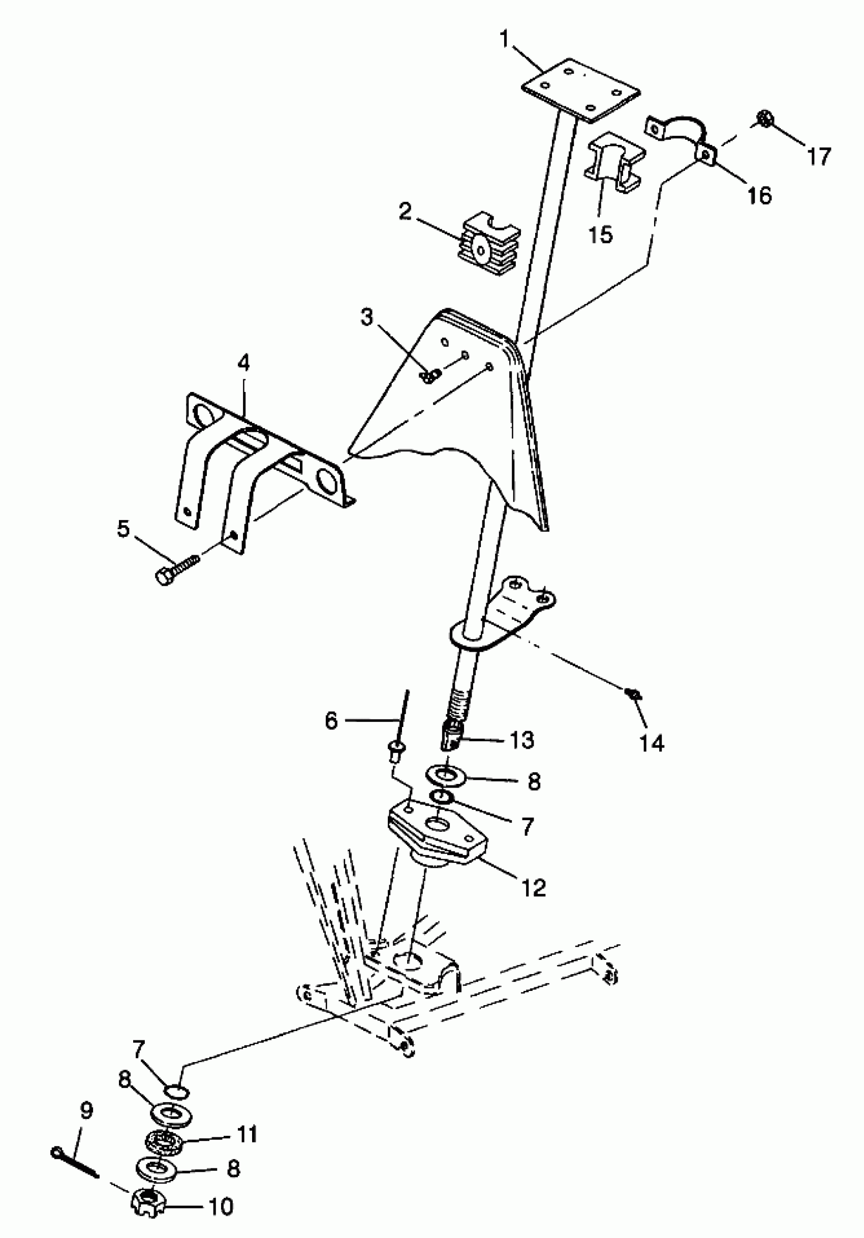
1
POST,STRG.ASM. (Incl. 13,14)
1843071
Unavailable
4
Bracket, Ignition Panel (See Footnote) (See Headlight Page A13, Ref. 13)
-------
Unavailable
9
PIN, COTTER(10)
7661633
Unavailable
11
SPACER, STRG.POST
5431571
Unavailable
13
PLUG,GREASE,STRG.
5431574
Unavailable
