- Partiron
- OEM Parts
- Polaris
- ATV
- 1998
- TRAIL BOSS - W98AA25C
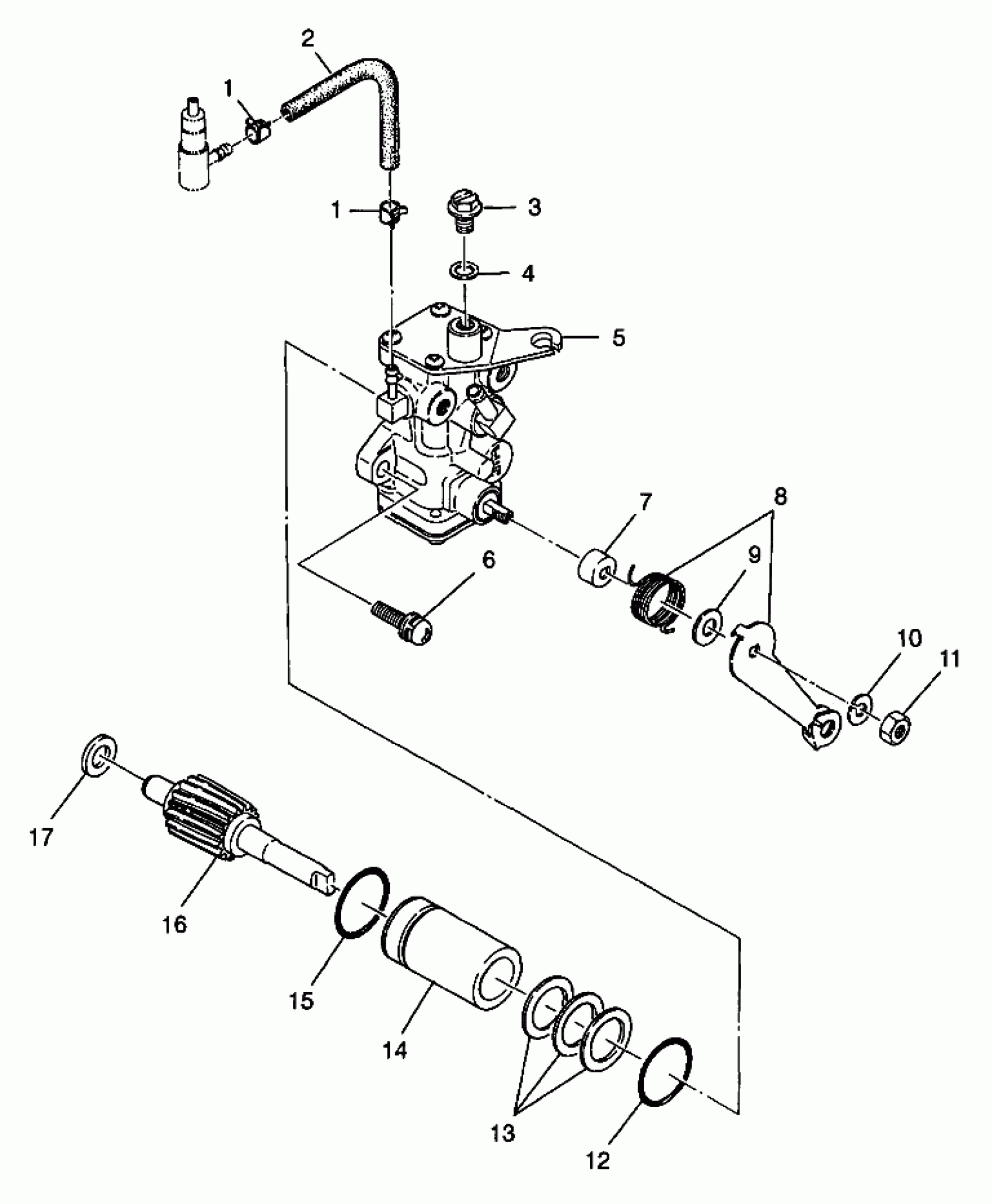
OIL PUMP Trail Boss W98AA25C (4945314531C012)
Polaris TRAIL BOSS - W98AA25C OIL PUMP Trail Boss W98AA25C (4945314531C012) Diagram
#
Description
Price
3
SCREW-AIR VENT
3083125
Unavailable
5
PUMP ASM, OIL (Incl. 3, 4, 7-12)
3085624
Unavailable
8
SPRING & LEVER
3085625
Unavailable
12
O RING
3083127
Unavailable
13
SPACER #3 (.6mm)
3083673
Unavailable
13
SPACER #2 (.3mm)
3083672
Unavailable
13
SPACER #1 (.15mm)
3083671
Unavailable
15
O RING
3083129
Unavailable
16
Gear, Small
3083429
Unavailable
