- Partiron
- OEM Parts
- Polaris
- ATV
- 1997
- TRAIL BOSS - W97AA25C
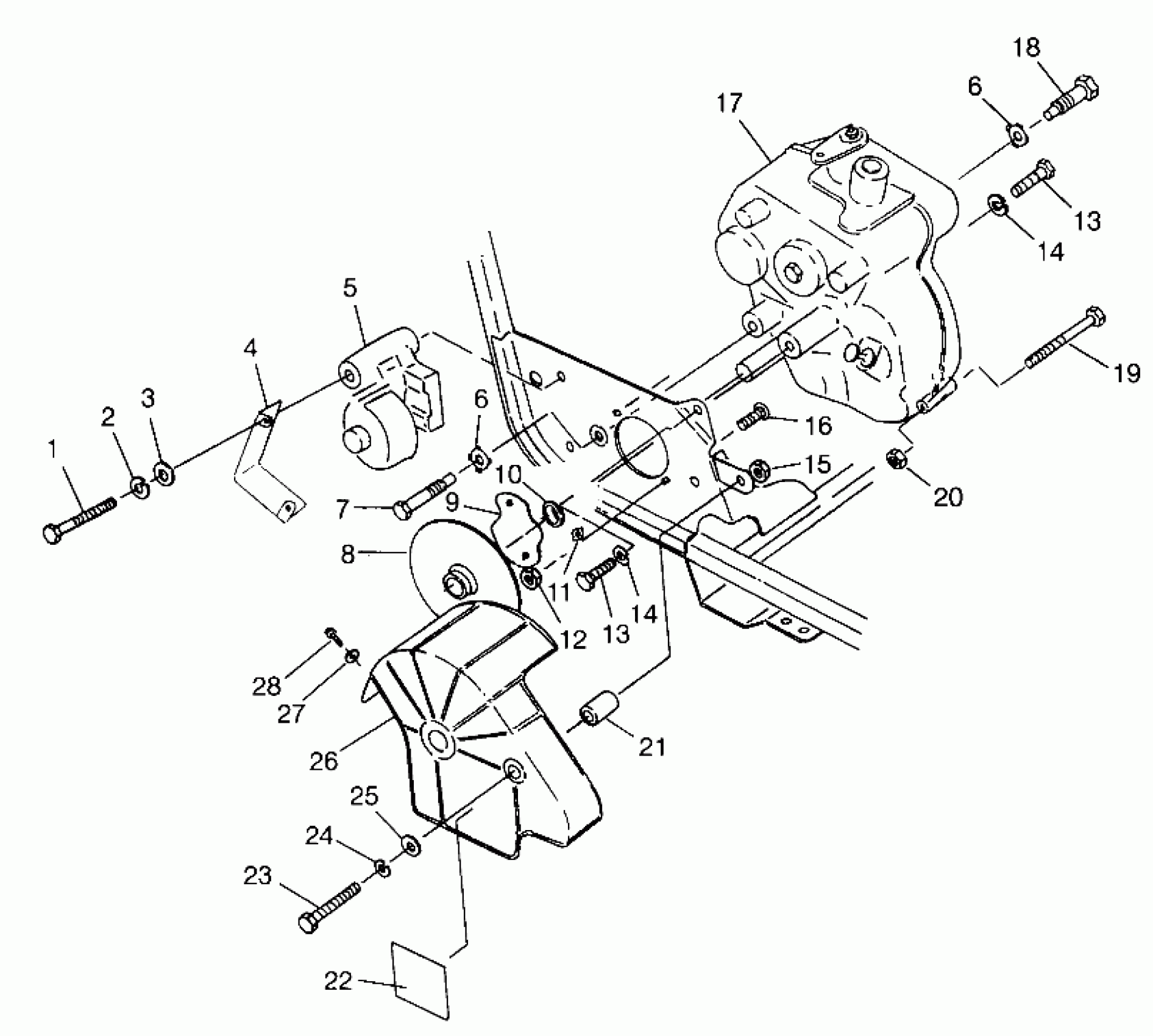
GEARCASE/BRAKE MOUNTING Trail Boss W97AA25C (4940574057B013)
Polaris TRAIL BOSS - W97AA25C GEARCASE/BRAKE MOUNTING Trail Boss W97AA25C (4940574057B013) Diagram
#
Description
Price
4
SHIELD,R.CALIPER,BLK.
5241018-067
Unavailable
5
Asm., Brake Caliper, Rear (See Pg. NO TAG, Ref. NO TAG)
-------
Unavailable
7
BOLT, SHOULDER
7512702
Unavailable
8
DISC ASM,BRAKE
1910177
Unavailable
16
BOLT,CARRIAGE(10)
7515484
Unavailable
17
Asm., Gearcase (See Pg. NO TAG for Details)
-------
Unavailable
22
DECAL,BRAKE SHIELD
7075339
Unavailable
23
BOLT(10) Substituted by 7515339
7515328
Unavailable
25
WASHER(10) Substituted by 7558402
7555770
Unavailable
26
GUARD, BRAKE DISC
5431766
Unavailable
27
WASHER(10) Substituted by 7558301
7555776
Unavailable
28
SCREW(10)
7512252
Unavailable
