- Partiron
- OEM Parts
- Polaris
- ATV
- 1996
- TRAIL BOSS - W968527
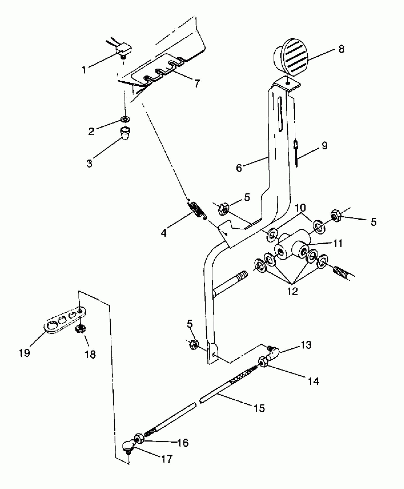
SHIFT LINKAGE Trail Boss W968527 (4935883588C001)
Polaris TRAIL BOSS - W968527 SHIFT LINKAGE Trail Boss W968527 (4935883588C001) Diagram
#
Description
Price
2
WASHER(10)
5850081
Unavailable
3
BOOT, O'RIDE SW.
7080379
Unavailable
6
LEVER,SHIFT WELD.
1341071-067
Unavailable
7
DECAL,SHIFT PATTERN
7074357
Unavailable
15
ROD,SHIFT LINKAGE
5020743
Unavailable
18
NUT(10) Substituted by 7546703
7546707
Unavailable
19
Bellcrank (See Pg., Ref.)
-------
Unavailable
