- Partiron
- OEM Parts
- Polaris
- ATV
- 1999
- TRAIL BOSS - A99AA25CA
CRANKCASE and CYLINDER - A99AA25CA (4949594959c007)
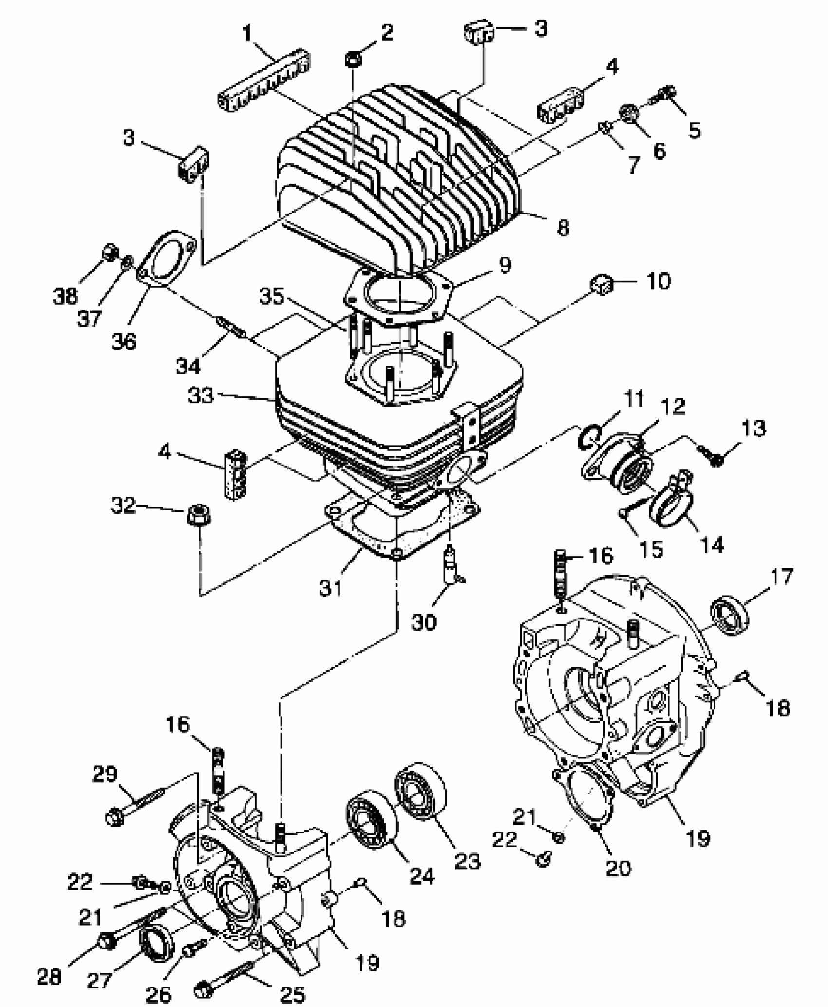
Polaris TRAIL BOSS - A99AA25CA CRANKCASE and CYLINDER - A99AA25CA (4949594959c007) Diagram
#
Description
Price
1
FIN DAMPER #3
3083931
Unavailable
4
FIN DAMPER #1
3083929
Unavailable
4
FIN DAMPER #1
3083929
Unavailable
7
COLLAR
3083732
Unavailable
8
HEAD, CYLINDER Substituted by 3086841
3083620
Unavailable
9
GASKET,HEAD,(CP)
3084015
Unavailable
10
FIN DAMPER #2
3083930
Unavailable
11
O-Ring
3084292
Unavailable
14
BAND-CARB MTG. (Incl. 15)
3082257
Unavailable
16
STUD Substituted by 3085713
3080746
Unavailable
16
STUD Substituted by 3085713
3080746
Unavailable
20
GASKET, STARTER Substituted by 3085283
3084018
Unavailable
22
PLUG, DRAIN
3083767
Unavailable
22
PLUG, DRAIN
3083767
Unavailable
23
BEARING,BALL
3085890
Unavailable
26
SCREW&WASHER ASM.
3081635
Unavailable
28
BOLT&WASHER ASSY.
3083615
Unavailable
30
VALVE, CHECK Substituted by 3086785
3083337
Unavailable
33
CYLINDER * (Incl. 34,35)
3085541
Unavailable
34
STUD,(10)
3085326
Unavailable
36
GASKET,EXHAUST Substituted by 3084439
3084017
Unavailable
38
NUT(10)
3080285
Unavailable
