- Partiron
- OEM Parts
- Polaris
- ATV
- 1992
- TRAIL BOSS 4X4 - W928127
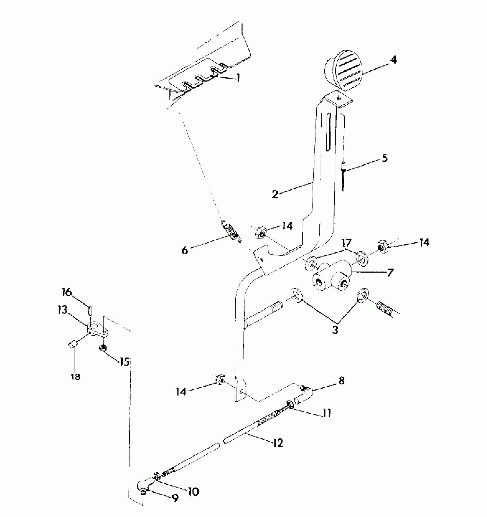
SHIFT LINKAGE ASSEMBLY 250 4x4 / W928127 (4922872287C011)
Polaris TRAIL BOSS 4X4 - W928127 SHIFT LINKAGE ASSEMBLY 250 4x4 / W928127 (4922872287C011) Diagram
#
Description
Price
1
DECAL,SHIFT PATTERN [No Longer Available]
7072905
Unavailable
2
LEVER,SHIFT WELD.
1341071-067
Unavailable
12
ROD,SHIFT LINKAGE
5020538
Unavailable
13
LEVER, SHIFT
5130783
Unavailable
16
KEY, HI-PRO
7721113
Unavailable
18
PIN, SPIRAL(10)
7661506
Unavailable
