- Partiron
- OEM Parts
- Polaris
- ATV
- 1987
- TRAIL BOSS 4X4 - W878127
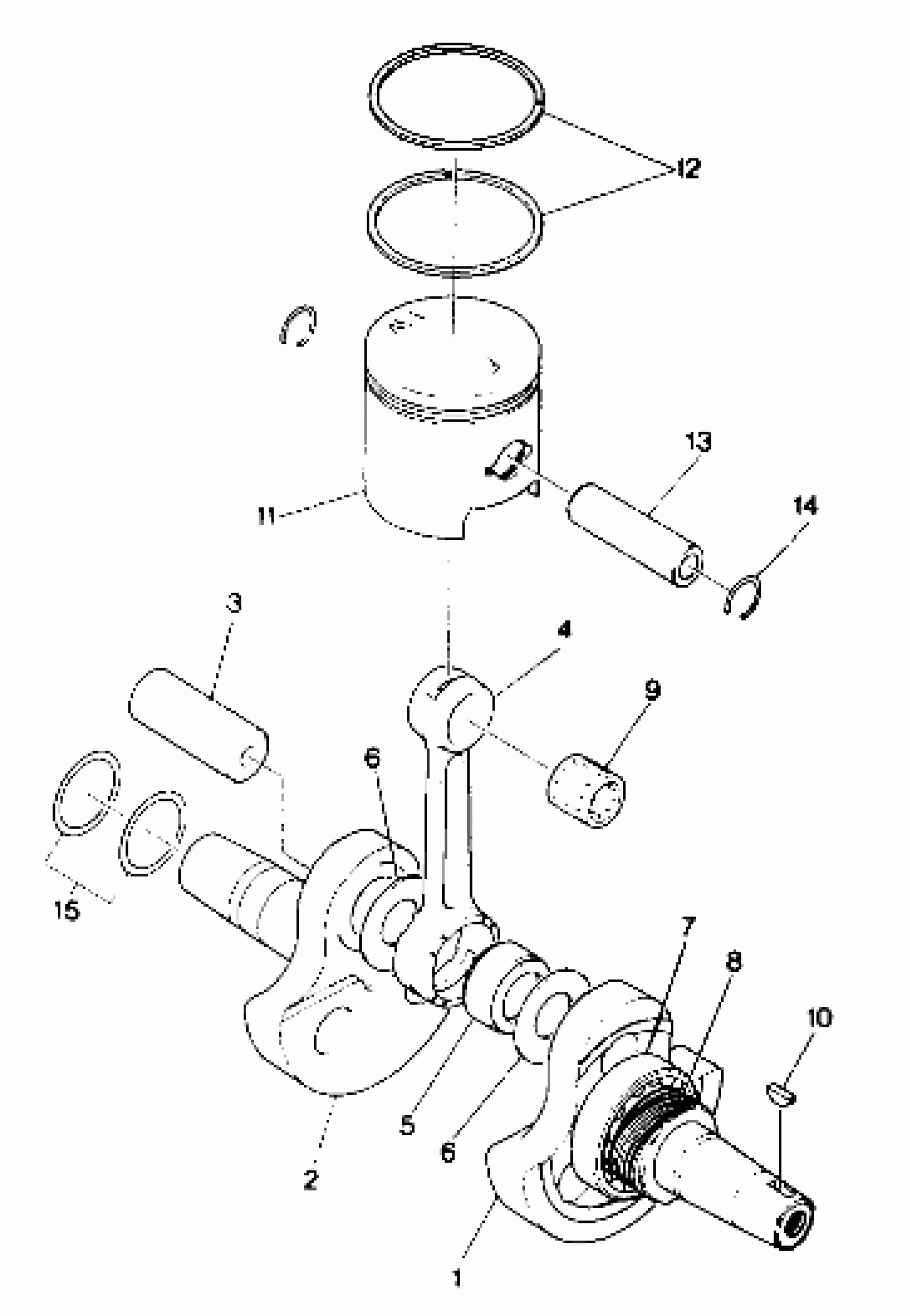
Crankshaft and Piston Assembly (4913521352039A)
Polaris TRAIL BOSS 4X4 - W878127 Crankshaft and Piston Assembly (4913521352039A) Diagram
#
Description
Price
-
CRANKSHAFT Substituted by 3084582 (Incl. 1-8)
3083810
Unavailable
1
CRANKSHAFT,#1
3083811
Unavailable
2
CRANKSHAFT,#2
3083802
Unavailable
4
ROD CONNECTING
3082790
Unavailable
5
BEARING,LGE.END
3083803
Unavailable
7
BEARING,BALL
3083805
Unavailable
8
GEAR, CRANKSHAFT Substituted by 3083745
3083414
Unavailable
9
BEARING, SMALL END
3083626
Unavailable
11
PISTON, .010 Substituted by 3083943
3083677
Unavailable
11
PISTON, .020 Substituted by 3083944
3083679
Unavailable
11
PISTON Substituted by 3083942
3083771
Unavailable
12
RING, PISTON
3083546
Unavailable
12
RING,.010 O/S
3083678
Unavailable
14
CLIP, PISTON PIN(10) Substituted by 3083839
3083628
Unavailable
15
SPACER #1
3083629
Unavailable
15
SPACER #3
3083630
Unavailable
