- Partiron
- OEM Parts
- Polaris
- ATV
- 1991
- TRAIL BOSS 350L 4X4 - W918139
COOLING SYSTEM 350 4X4 - Update (4919831983007A)
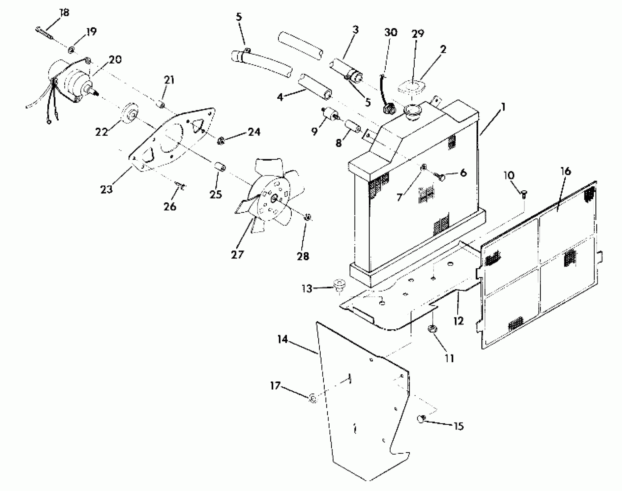
Polaris TRAIL BOSS 350L 4X4 - W918139 COOLING SYSTEM 350 4X4 - Update (4919831983007A) Diagram
#
Description
Price
1
RADIATOR
1240006
Unavailable
2
CAP, RADIATOR Substituted by 2511270
2511189
Unavailable
4
DESC NOT_AVAILABLE
5401572
Unavailable
5
CLAMP-HOSE Substituted by 7080547
7080225
Unavailable
5
CLAMP-HOSE Substituted by 7080547
7080225
Unavailable
12
GUARD,LOW.RADIATOR Substituted by 5222547-067
5222547
Unavailable
14
SHIELD,LH RADIATOR
5431188
Unavailable
14
SHIELD,RH RADIATOR
5431189
Unavailable
16
SCREEN, RADIATOR Substituted by 5431610
5431228
Unavailable
18
SCREW(10)
7511867
Unavailable
20
MOTOR, FAN Substituted by 3084266
2410006
Unavailable
22
COVER
3083951
Unavailable
23
BRKT, COOLING FAN, BLACK
5224741-067
Unavailable
24
NUT(10)
7541915
Unavailable
25
BUSHING
3083950
Unavailable
28
NUT
3083952
Unavailable
29
DECAL(CPSC),RAD.CAP
7073068
Unavailable
30
SWITCH,RADIATOR THERMO.
4110099
Unavailable
