- Partiron
- OEM Parts
- Polaris
- ATV
- 1990
- TRAIL BOSS 350L 4X4 - W908139
Headlight Assembly (4918541854008A)
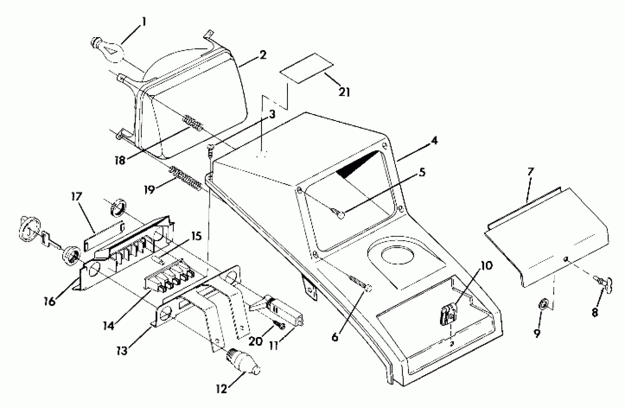
Polaris TRAIL BOSS 350L 4X4 - W908139 Headlight Assembly (4918541854008A) Diagram
#
Description
Price
2
HEADLIGHT ASM.
4032038
Unavailable
4
COVER,OIL TANK&H/L
5431202-132
Unavailable
5
SCREW, ADJ.(10)
4032003
Unavailable
6
SCREW,ADJUST,(ATV)(10)
4032042
Unavailable
7
DOOR, ACCESS Substituted by 5431201-132
5431201
Unavailable
13
BRKT, IGN. PANEL
5220965-067
Unavailable
15
BULB
4030042
Unavailable
16
PANEL, IGNITION
5430995
Unavailable
17
LENS ASM,PILOT LIGHT
2652056
Unavailable
18
SPRING-ADJ
4032002
Unavailable
19
SPRING,ADJ.
4032041
Unavailable
21
DECAL,WARN'DEM.4'SW. Substituted by 7074935
7072737
Unavailable
