- Partiron
- OEM Parts
- Polaris
- ATV
- 1991
- TRAIL BOSS 350L 2X4 - W917539
COOLING SYSTEM 350 2X4 - Update (4919821982007A)
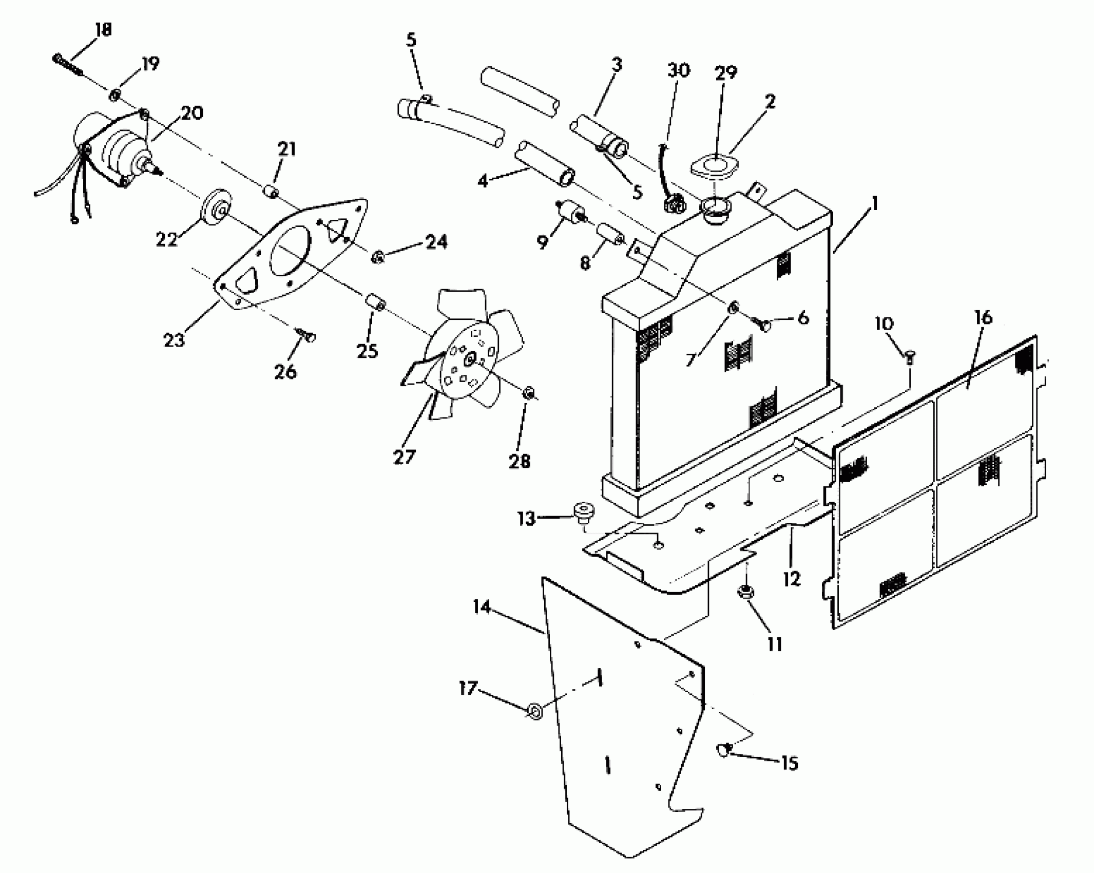
Polaris TRAIL BOSS 350L 2X4 - W917539 COOLING SYSTEM 350 2X4 - Update (4919821982007A) Diagram
#
Description
Price
1
RADIATOR
1240006
Unavailable
2
CAP, RADIATOR Substituted by 2511270
2511189
Unavailable
4
HOSE, LOWER ENG.
5410606
Unavailable
5
CLAMP-HOSE Substituted by 7080547
7080225
Unavailable
5
CLAMP-HOSE Substituted by 7080547
7080225
Unavailable
12
GUARD,LOW.RADIATOR
5222547-067
Unavailable
14
SHIELD,LH RADIATOR
5431188
Unavailable
14
SHIELD,RH RADIATOR
5431189
Unavailable
16
SCREEN, RADIATOR Substituted by 5431610
5431228
Unavailable
20
MOTOR, FAN Substituted by 3084266
2410006
Unavailable
22
COVER
3083951
Unavailable
23
BRKT,COOLING FAN Substituted by 5224741-067
5222559-067
Unavailable
24
NUT(10)
7541915
Unavailable
25
BUSHING
3083950
Unavailable
28
NUT
3083952
Unavailable
29
SWITCH,RADIATOR THERMO.
4110099
Unavailable
