- Partiron
- OEM Parts
- Polaris
- ATV
- 1990
- TRAIL BOSS 2X4 - W907527
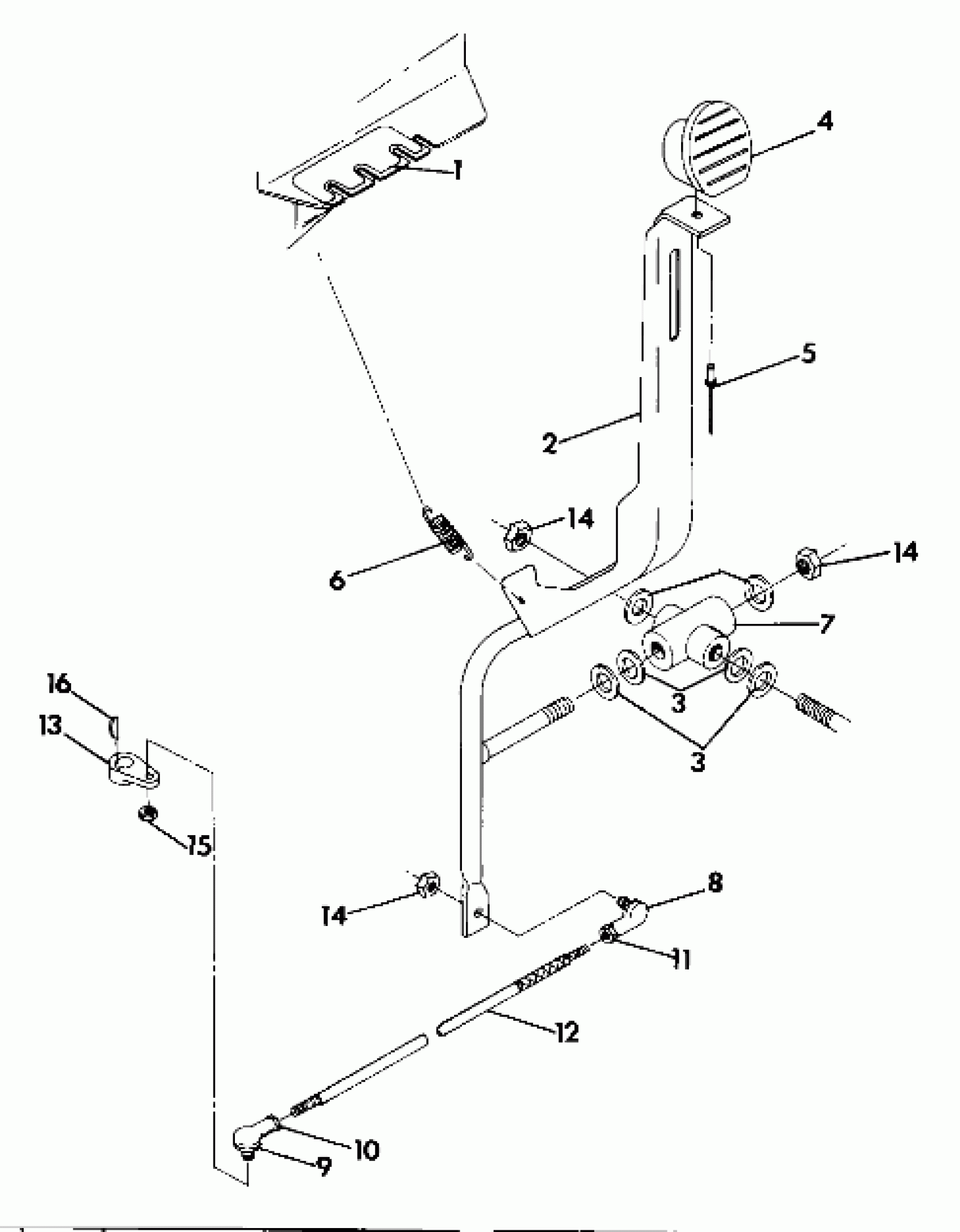
Shift Linkage Assembly Updated 5/90 (4917721772031A)
Polaris TRAIL BOSS 2X4 - W907527 Shift Linkage Assembly Updated 5/90 (4917721772031A) Diagram
#
Description
Price
1
DECAL,SHIFT PATTERN [No Longer Available]
7072905
Unavailable
2
LEVER,SHIFT,WELD. Substituted by 1341071-067
1341071
Unavailable
12
ROD,SHIFT LINKAGE
5020538
Unavailable
13
LEVER, SHIFT [No Longer Available]
5610107
Unavailable
16
KEY, HI-PRO
7721113
Unavailable
