- Partiron
- OEM Parts
- Polaris
- ATV
- 1988
- TRAIL BOSS 2X4 - W887527
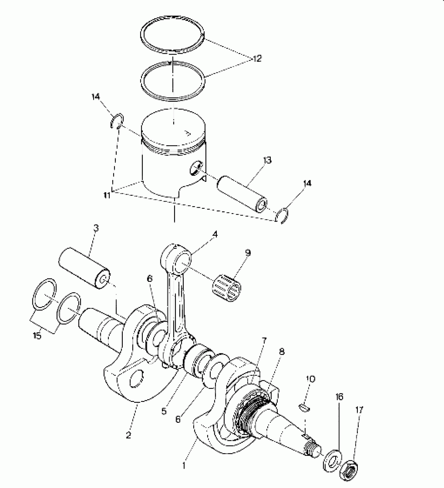
Crankshaft and Piston Assembly (4914771477033A)
Polaris TRAIL BOSS 2X4 - W887527 Crankshaft and Piston Assembly (4914771477033A) Diagram
#
Description
Price
-
CRANKSHAFT Substituted by 3084582 (Incl. 1-8)
3083921
Unavailable
2
CRANKSHAFT #2
3083927
Unavailable
4
ROD,CONNECTING Substituted by 3082790
3083922
Unavailable
5
BEARING,LGE.END
3083803
Unavailable
7
BEARING,BALL
3083805
Unavailable
8
GEAR, CRANKSHAFT Substituted by 3083745
3083414
Unavailable
9
BEARING, SMALL END
3083626
Unavailable
11
PISTON *
3083942
Unavailable
11
PISTON,.020 O/S
3083944
Unavailable
11
PISTON,.010 O/S
3083943
Unavailable
12
RING, PISTON
3083546
Unavailable
12
RING,.010 O/S
3083678
Unavailable
15
SPACER #1
3083629
Unavailable
15
SPACER #3
3083630
Unavailable
16
WASHER Substituted by 3086767
3083904
Unavailable
17
LOCKNUT
3083905
Unavailable
