- Partiron
- OEM Parts
- Polaris
- ATV
- 1995
- TRAIL BOSS 250 - W958527
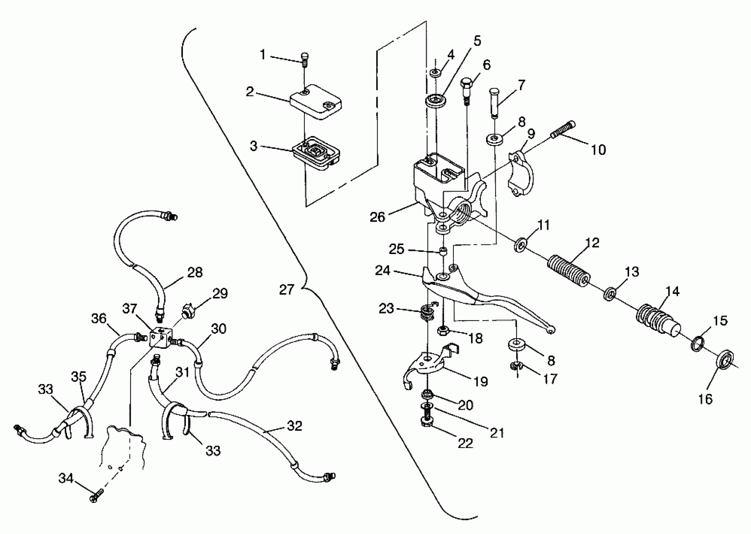
CONTROLS - MASTER CYLINDER/BRAKE LINE Trail Boss W958527 (4930323032B008)
Polaris TRAIL BOSS 250 - W958527 CONTROLS - MASTER CYLINDER/BRAKE LINE Trail Boss W958527 (4930323032B008) Diagram
#
Description
Price
2
COVER,MASTER CYL.
5630338
Unavailable
4
WASHER, BAFFLE(10)
1930662
Unavailable
5
BAFFLE,MASTER CYL.
1930673
Unavailable
6
BOLT,BRAKE LEVER(10)
7512287
Unavailable
7
PIN,BRAKELEVER ROLLER
7661627
Unavailable
8
ROLLER, BRAKE LEVER
5020598
Unavailable
8
ROLLER, BRAKE LEVER
5020598
Unavailable
9
CLAMP, MASTER CYL.
5630342
Unavailable
12
SPRING, MASTERCYL.
7041311
Unavailable
13
SEALCUP, MASTER CYL. Substituted by 5410994
5410784
Unavailable
16
SEAL, OIL
3610022
Unavailable
17
RING, RETAINING(10)
7710425
Unavailable
18
NUT(10)
7542124
Unavailable
19
LEVER,PARKBRAKE,ATV
5240865
Unavailable
20
BUSHING,PK.BRAKE LEVER
5020670
Unavailable
22
SCREW(10)
7511876
Unavailable
24
LEVER, BRAKE,(ATV)
5630455
Unavailable
25
BUSHING,BRAKE LEVER
5332931
Unavailable
29
SWITCH,STOPLIGHT
4110164
Unavailable
30
LINE,BRAKE,REAR
1930751
Unavailable
31
CONDUIT, 30 CM. Substituted by 8360011-34
8360031-30
Unavailable
33
STRAP, BLK
7080272
Unavailable
33
STRAP, BLK
7080272
Unavailable
37
FITTING,CROSS INVERT.FLARE
7052103
Unavailable
