- Partiron
- OEM Parts
- Polaris
- ATV
- 1998
- TRAIL BLAZER - W98BA25C
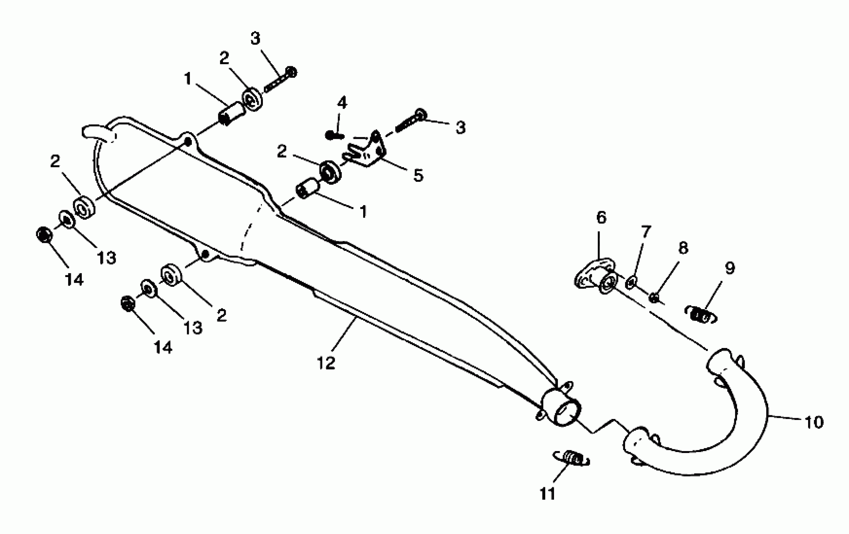
EXHAUST SYSTEM Trail Blazer W98BA25C (4945464546A010)
Polaris TRAIL BLAZER - W98BA25C EXHAUST SYSTEM Trail Blazer W98BA25C (4945464546A010) Diagram
#
Description
Price
1
SPACER,EXH.MOUNT
5010368
Unavailable
1
SPACER,EXH.MOUNT
5010368
Unavailable
2
DAMPENER,EXH.MT.
5411058
Unavailable
2
DAMPENER,EXH.MT.
5411058
Unavailable
2
DAMPENER,EXH.MT.
5411058
Unavailable
2
DAMPENER,EXH.MT.
5411058
Unavailable
5
MT,LOW.MUFFLER,BLK
5224717-067
Unavailable
6
MANIFOLD, BLK.
1260543-029
Unavailable
7
Washer, Lock (See Pg. A36, Ref. 36)
-------
Unavailable
8
Nut (See Pg. A36, Ref. 37)
-------
Unavailable
10
HEADPIPE, BLK. Substituted by 1261060-029
1260740-029
Unavailable
12
MUFFLER,SPARK ARRES,BLK
1260741-029
Unavailable
