- Partiron
- OEM Parts
- Polaris
- ATV
- 1994
- TRAIL BLAZER - W947221
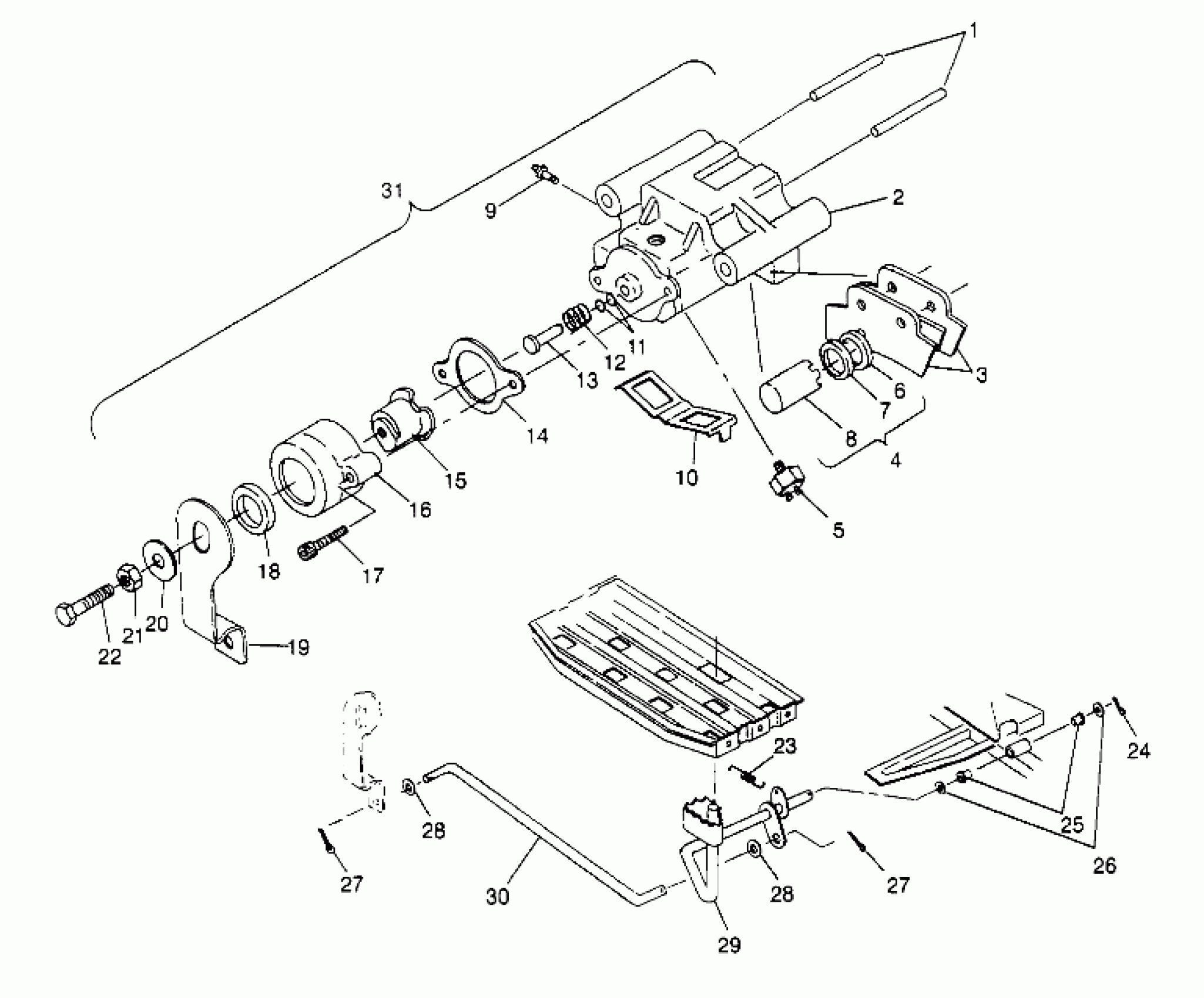
REAR BRAKE ASSEMBLY Trail Blazer W947221 (4926832683B013)
Polaris TRAIL BLAZER - W947221 REAR BRAKE ASSEMBLY Trail Blazer W947221 (4926832683B013) Diagram
#
Description
Price
2
CALIPER,BRAKE,MACH. Substituted by 5131117
5130946
Unavailable
5
SWITCH,STOPLIGHT
4110164
Unavailable
6
Square Ring (.134 Sq.)
-------
Unavailable
7
Square Ring (.099 Sq.)
-------
Unavailable
10
SPRING,ANTI-RATTLE
5222232
Unavailable
11
O RING-.364X.504X.07
5410542
Unavailable
13
PIN,BRAKE CALIPER
5020666
Unavailable
15
RAMP,MOVEABLE BRAKE Substituted by 2200905
5630458
Unavailable
16
RAMP, STAT.BRAKE Substituted by 2200905
5630457
Unavailable
17
SCREW(10)
7512173
Unavailable
19
ARM,BRAKE CALIPER
5240624
Unavailable
20
WASHER, SPRING(10)
7555828
Unavailable
22
BOLT
7515145
Unavailable
29
FOOTBRAKE,BLK.
1910144-067
Unavailable
31
CAL.ASM,REAR BRAKE Substituted by 1910180 (Incl. 1-22)
1910156
Unavailable
