- Partiron
- OEM Parts
- Polaris
- ATV
- 1993
- TRAIL BLAZER - W937221
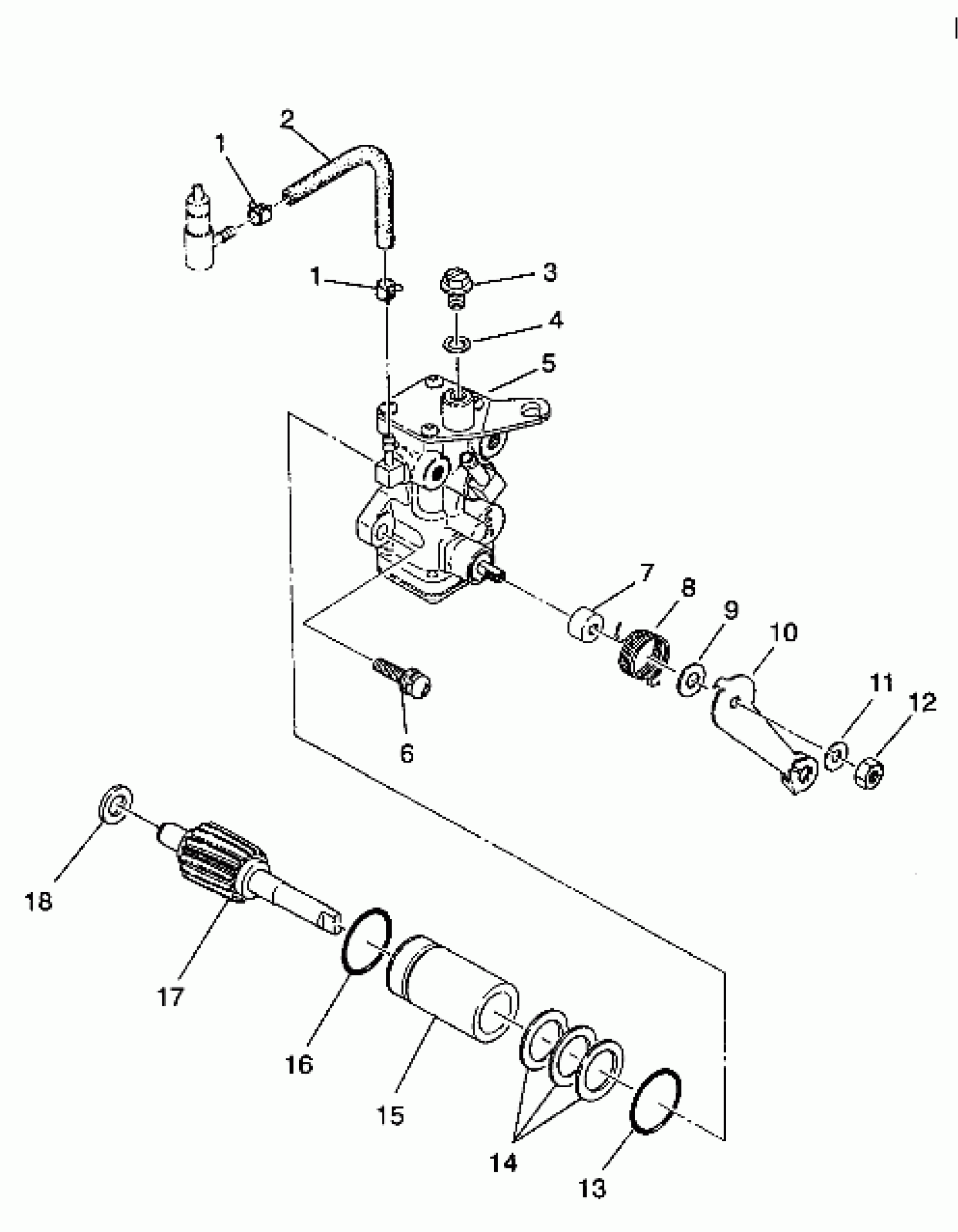
OIL PUMP ASSEMBLY Trail Blazer W937221 (4924082408033A)
Polaris TRAIL BLAZER - W937221 OIL PUMP ASSEMBLY Trail Blazer W937221 (4924082408033A) Diagram
#
Description
Price
2
PIPE, RUBBER Substituted by 3083140
3083446
Unavailable
3
SCREW-AIR VENT
3083125
Unavailable
5
OIL PUMP ASM. Substituted by 3085542 (Incl. 3-5,7-13)
3083806
Unavailable
8
SPRING-RETURN
3083123
Unavailable
10
LEVER, CONTROL
3083935
Unavailable
13
O RING
3083127
Unavailable
14
SPACER #3
3083673
Unavailable
14
SPACER #2
3083672
Unavailable
14
SPACER #1
3083671
Unavailable
16
O RING
3083129
Unavailable
17
Gear, Small
3083429
Unavailable
