- Partiron
- OEM Parts
- Polaris
- ATV
- 1993
- TRAIL BLAZER - W937221
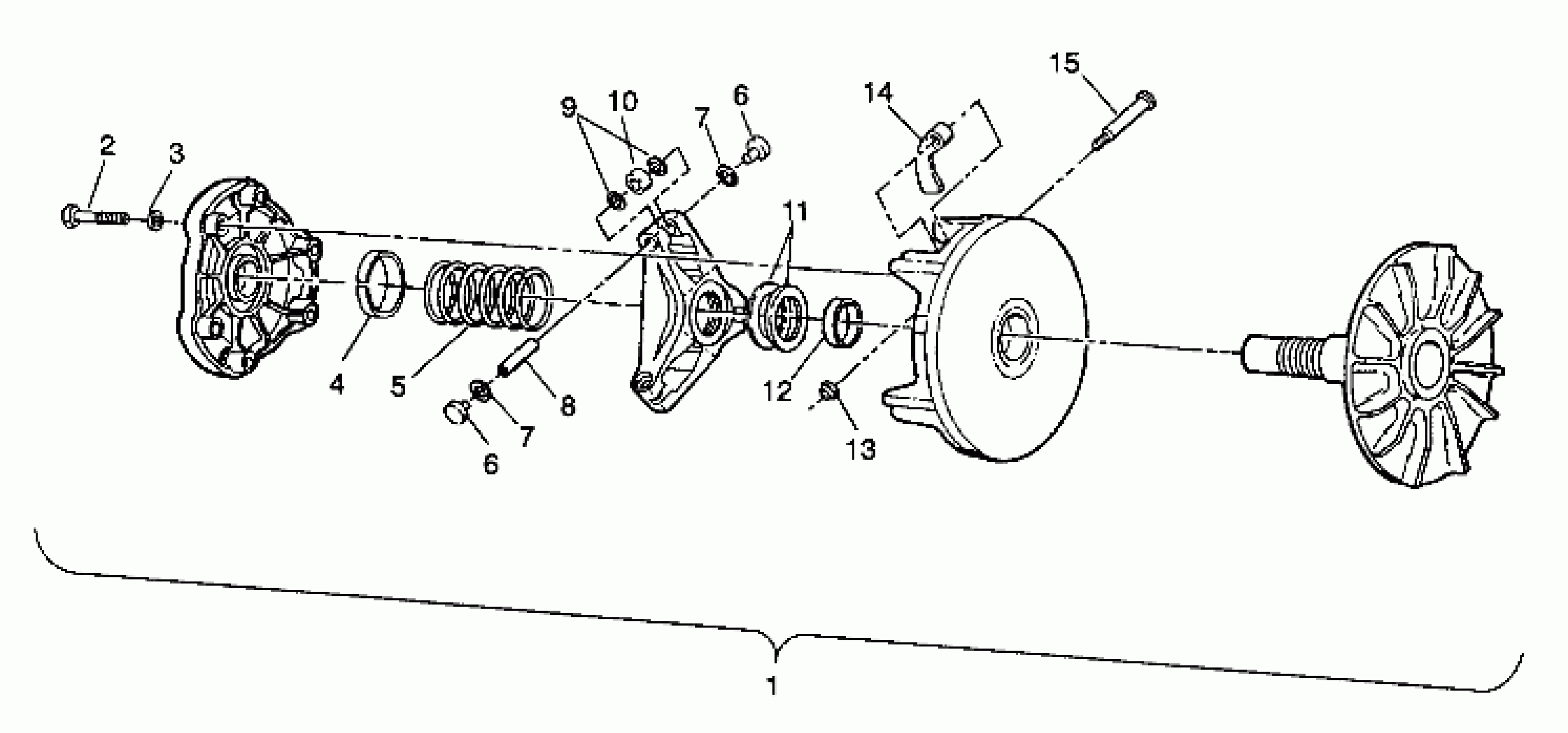
DRIVE CLUTCH ASSEMBLY Trail Blazer W937221 (4924082408019A)
Polaris TRAIL BLAZER - W937221 DRIVE CLUTCH ASSEMBLY Trail Blazer W937221 (4924082408019A) Diagram
#
Description
Price
2
BOLT(10) Substituted by 7512163
7512176
Unavailable
8
PIN,SPIDER (.950)
5020678
Unavailable
11
SPACER(10)
5210754
Unavailable
11
SPACER(10)
5210752
Unavailable
11
SPACER(10)
5210753
Unavailable
