- Partiron
- OEM Parts
- Polaris
- ATV
- 1991
- TRAIL BLAZER - W917221
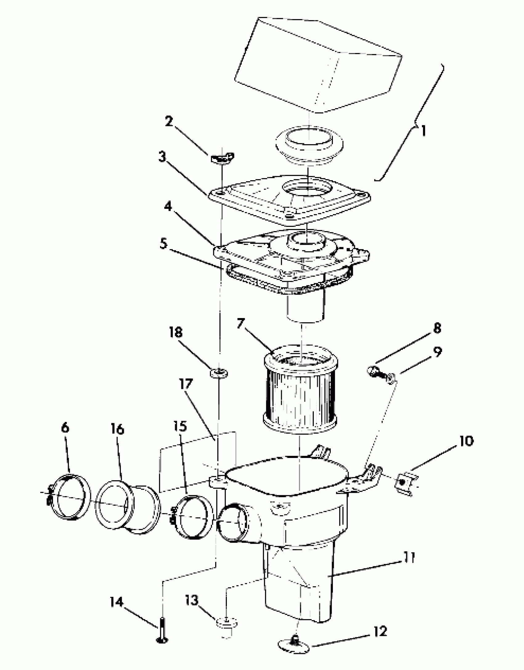
AIR BOX ASSEMBLY TRAIL BLAZER (4919761976019A)
Polaris TRAIL BLAZER - W917221 AIR BOX ASSEMBLY TRAIL BLAZER (4919761976019A) Diagram
#
Description
Price
1
INTAKE ASM, FOAM [No Longer Available]
1253108
Unavailable
3
RETAINER,COVER
5220980
Unavailable
4
COVER,AIR INTAKE
5430884
Unavailable
5
SEAL,COVER,AIR
5410510
Unavailable
6
CLAMP(10)
7080140
Unavailable
8
BOLT(10)
7512246
Unavailable
11
BOX, AIR INTAKE
5431124
Unavailable
12
VALVE, UMBRELLA
5410549
Unavailable
13
BUSHING
5410529
Unavailable
17
TAPE, FOIL
5810310
Unavailable
18
NUT, PUSH-ON(10)
7670061
Unavailable
