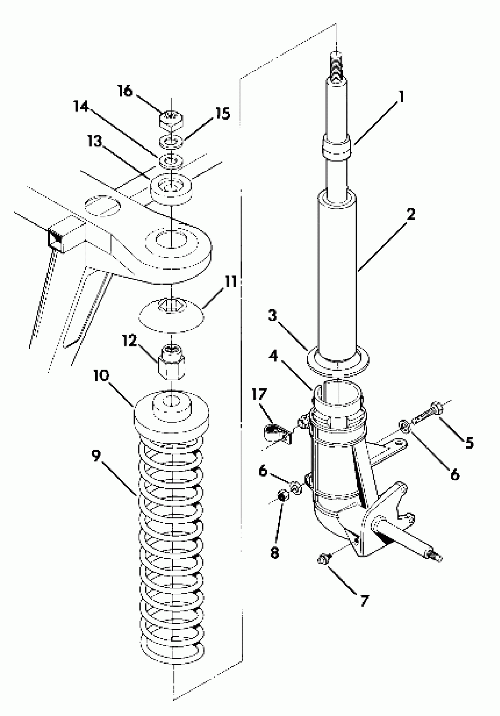
Polaris TRAIL BLAZER - W907221 Strut Assembly (4918411841008A) Diagram
#
Description
Price
1
BUMPER, RUBBER
5410429
Unavailable
2
SHOCK,FR.STRUT Substituted by 7041451
7041211
Unavailable
4
SUPPORT,LH STRUT&SPINDLE Substituted by 5130803
5130655
Unavailable
4
SUPPORT,RH STRUT&SPINDLE Substituted by 5130804
5130656
Unavailable
9
SPRING, STRUT
7041161-119
Unavailable
10
RETAINER,SPRING,TOP (Top)
5220602
Unavailable
11
PIVOT BALL,BOTTOM Substituted by 5432871
5430807
Unavailable
13
PIVOT BALL, TOP Substituted by 5432872
5430806
Unavailable
17
CLAMP(10) Substituted by 7080573
7080347
Unavailable
