Partiron

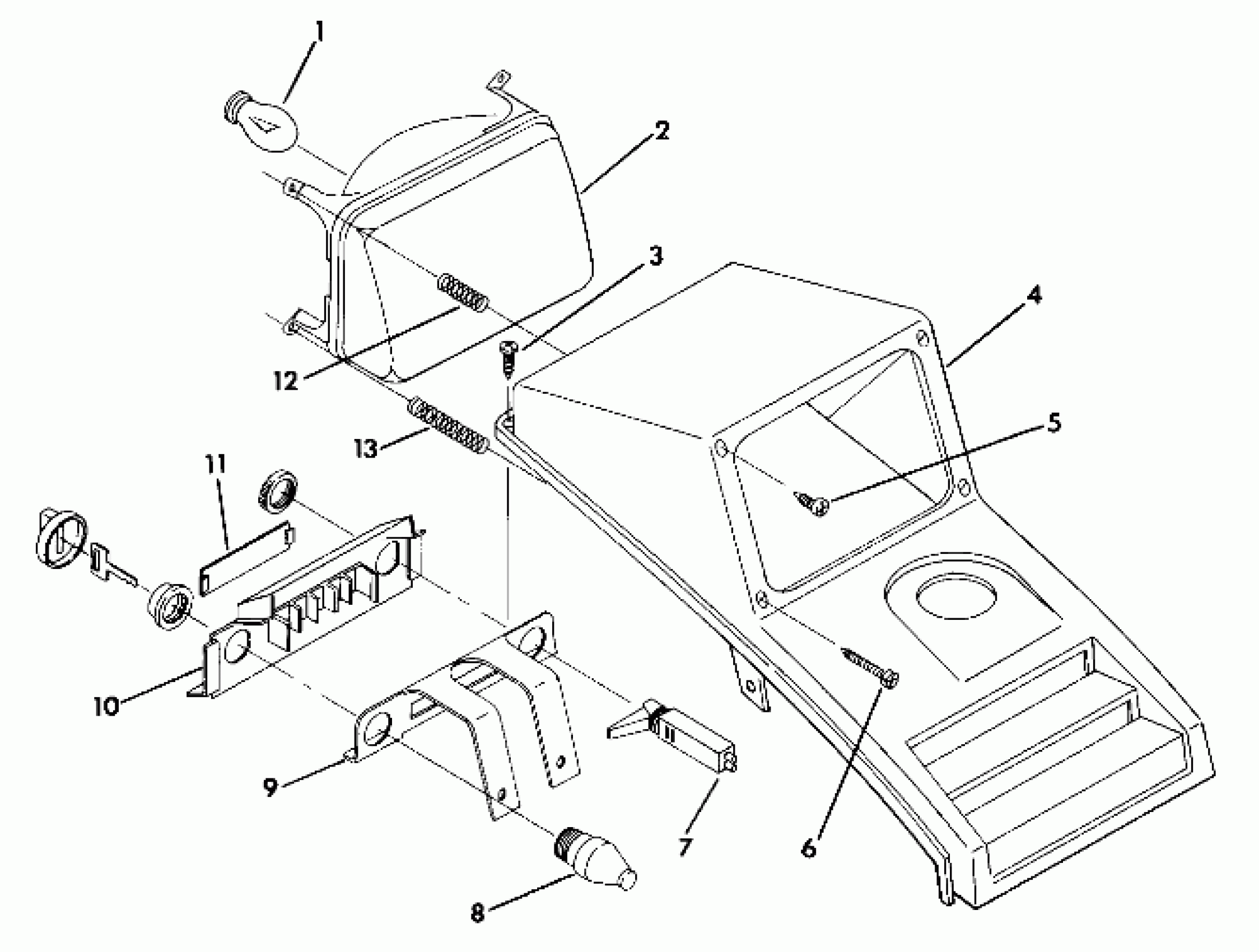
Polaris TRAIL BLAZER - W907221 Headlight Assembly (4918411841007A) Diagram

#

Description
Price

1

BULB, H/L

4030028

$29.99

2

HEADLIGHT ASM.

4032038

Unavailable

3

SCREW(10)

7512017

$4.79

4

COVER,H/L.(TAN)

5430973-152

$67.46

5

SCREW, ADJ.(10)

4032003

Unavailable

6

SCREW,ADJUST,(ATV)(10)

4032042

Unavailable

7

KIT-CHOKE CONTROL

2200188

$24.27

7

CABLE, CHOKE

7080371

$97.13

8

SWITCH,IGN.(MOD.) Substituted by 4110139

4110102

Unavailable

9

BRKT, IGN. PANEL

5220965-067

Unavailable

10

PANEL, IGNITION

5430995

Unavailable

11

LENS ASM.,DASH

2652067

Unavailable

12

SPRING-ADJ

4032002

Unavailable

13

SPRING,ADJ.

4032041

Unavailable