- Partiron
- OEM Parts
- Polaris
- ATV
- 2006
- TRAIL BLAZER - A06BA25CA
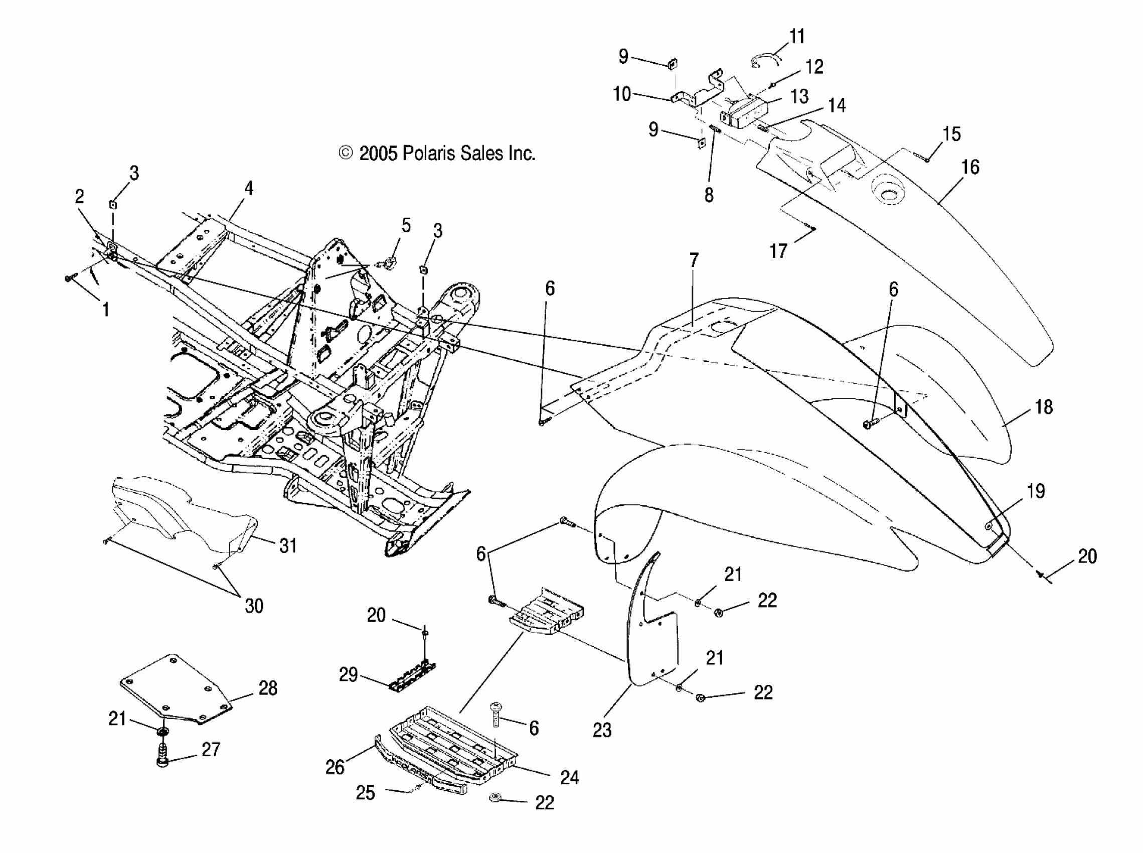
CAB, FRONT - A06BA25CA (4999201499920149A03)
Polaris TRAIL BLAZER - A06BA25CA CAB, FRONT - A06BA25CA (4999201499920149A03) Diagram
#
Description
Price
7
Seal, Foam
5811527
Unavailable
9
Clip
7670163
Unavailable
9
Clip
7670163
Unavailable
10
Bracket, Headlight Mount
5247950
Unavailable
13
Headlight, Single Beam [Incl. 11]
4010206
Unavailable
14
Spring, Adjustment
4032094
Unavailable
16
Cover, Front, Black
5432179-070
Unavailable
17
Screw
7518303
Unavailable
18
Asm., Cab, Front, Bright White [w/Warning Decals]
2632993-133
Unavailable
23
Mudflap, Front, RH
5850150
Unavailable
23
Mudflap, Front, LH
5811831
Unavailable
26
Trim, Footrest
5431484
Unavailable
31
Guard, Prop Shaft, Side
5435245
Unavailable
