- Partiron
- OEM Parts
- Polaris
- ATV
- 2005
- TRAIL BLAZER - A05BA25CA
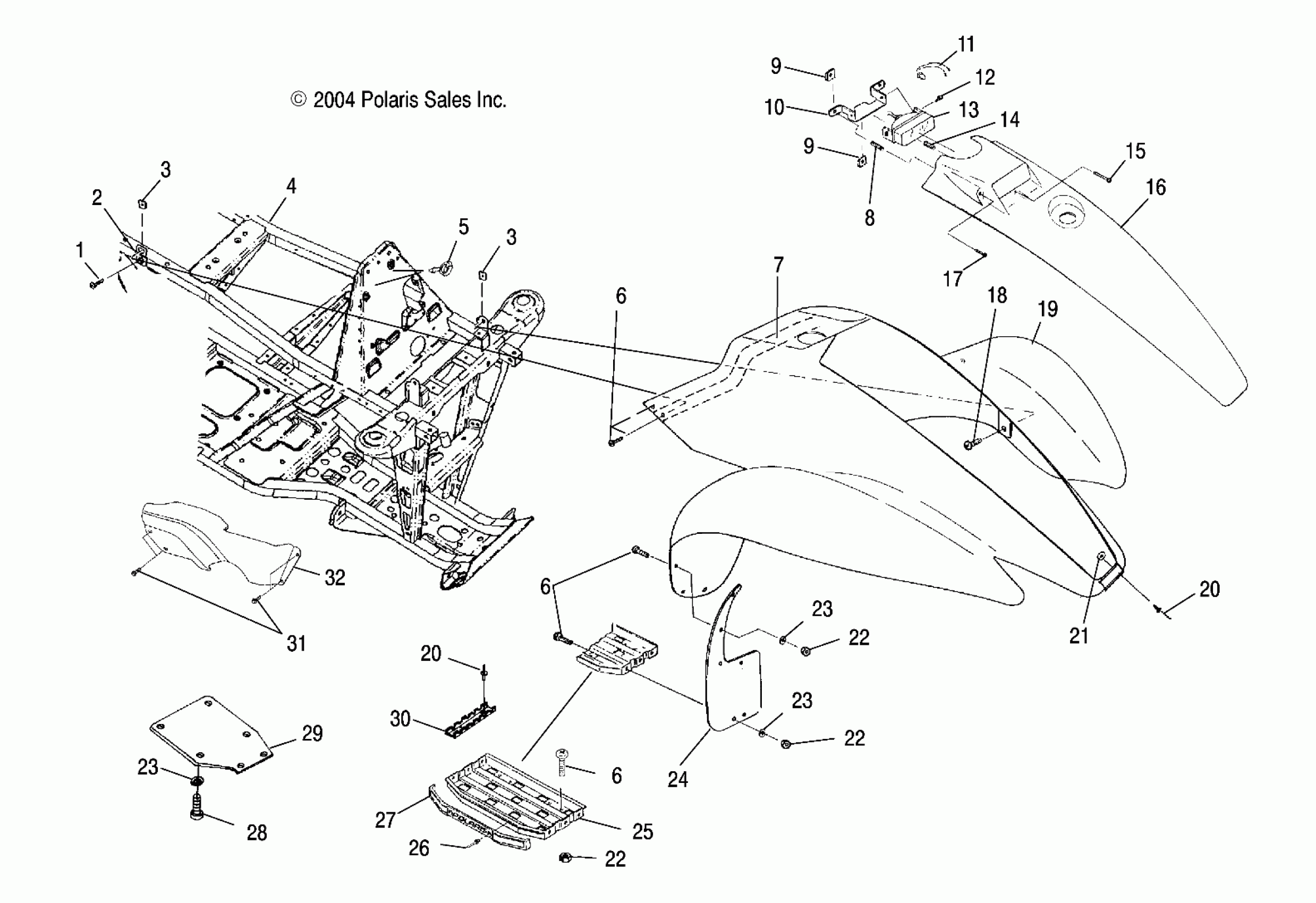
FRONT CAB - A05BA25CA/CB (4994739473A03)
Polaris TRAIL BLAZER - A05BA25CA FRONT CAB - A05BA25CA/CB (4994739473A03) Diagram
#
Description
Price
7
Foam, Seal
5811527
Unavailable
9
Clip
7670163
Unavailable
9
Clip
7670163
Unavailable
10
Bracket, Headlight Mount
5247950
Unavailable
13
Headlight, Single Beam [Incl. 11]
4010206
Unavailable
14
Spring
4032094
Unavailable
16
Cover, Front, Black
5432179-070
Unavailable
17
Screw
7518303
Unavailable
24
Mudflap, Front, RH
5850150
Unavailable
24
Mudflap, Front, LH
5811831
Unavailable
27
Trim, Footrest
5431484
Unavailable
32
Guard, Prop Shaft, Side
5435245
Unavailable
