- Partiron
- OEM Parts
- Polaris
- ATV
- 1999
- TRAIL BLAZER 250 - A99BA25CA
EXHAUST SYSTEM - A99BA25CA (4949574957a010)
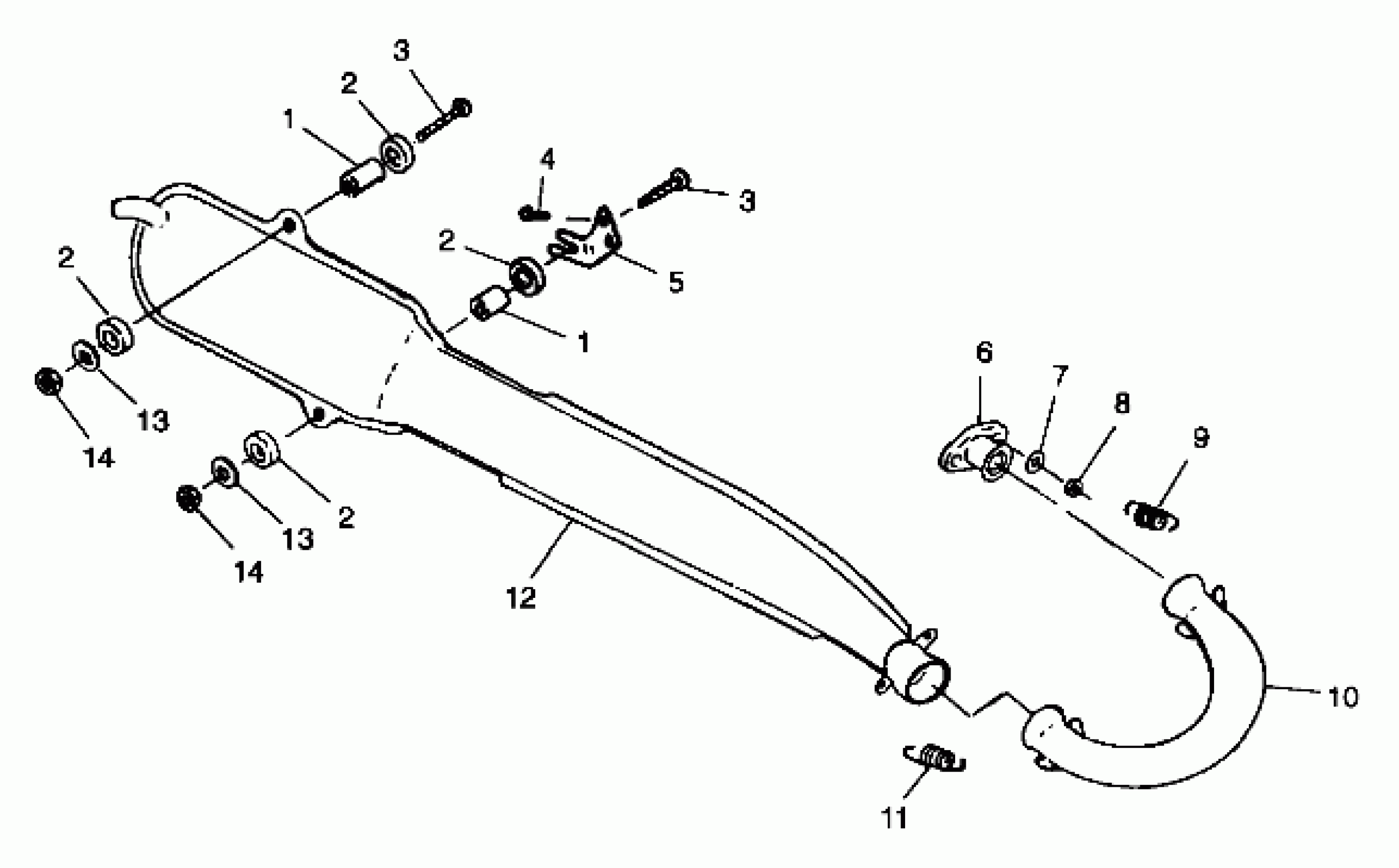
Polaris TRAIL BLAZER 250 - A99BA25CA EXHAUST SYSTEM - A99BA25CA (4949574957a010) Diagram
#
Description
Price
1
SPACER,EXH.MOUNT
5010368
Unavailable
1
SPACER,EXH.MOUNT
5010368
Unavailable
2
DAMPENER,EXH.MT.
5411058
Unavailable
2
DAMPENER,EXH.MT.
5411058
Unavailable
2
DAMPENER,EXH.MT.
5411058
Unavailable
2
DAMPENER,EXH.MT.
5411058
Unavailable
5
MOUNT-LOWER MUFFLER,T-BLZR,BLK
5243116-067
Unavailable
6
MANIFOLD, BLK.
1260543-029
Unavailable
7
Washer, Lock (See Footnote) (See Crankcase and Cylinder Pg. C8, Ref. 37)
-------
Unavailable
8
Nut (See Footnote) (See Crankcase and Cylinder Pg. C8, Ref. 38)
-------
Unavailable
10
HEADPIPE, BLK. Substituted by 1261060-029
1260740-029
Unavailable
