- Partiron
- OEM Parts
- Yamaha
- snowmobile
- 2024
- TR8NTSRB (TRANSPORTER 800) 8NV7 2024
FRONT SUSPENSION
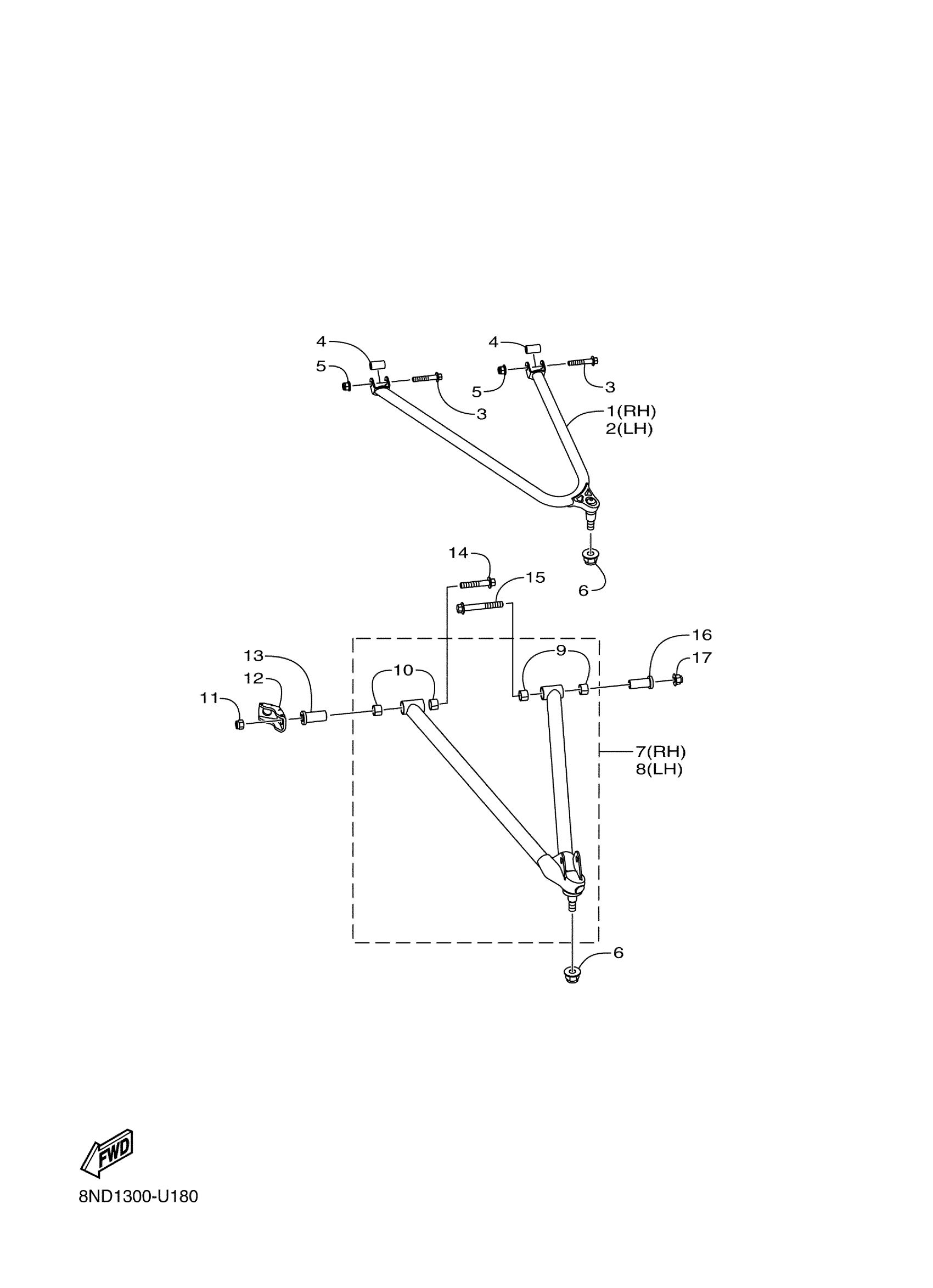
Yamaha TR8NTSRB (TRANSPORTER 800) 8NV7 2024 FRONT SUSPENSION Diagram
#
Description
Price
1
ARM, FRONT UPPER
8ND-F355A-40-00
Unavailable
2
ARM, FRONT UPPER
8ND-F354A-40-00
Unavailable
7
ARM,FR. LWR. RH.
8ND-F358A-40-00
Unavailable
8
ARM,FR. LWR. LH.
8ND-F357A-40-00
Unavailable
12
ARM, 1
8JP-F3543-00-00
Unavailable
13
COLLAR, 9
8JP-RA721-10-00
Unavailable
14
BOLT, FLG. M12X1.2
8JP-RA1A7-00-00
Unavailable
15
BOLT, FLG. M10-1.2
8JP-RA194-20-00
Unavailable
16
COLLAR, 7
8JP-RA719-00-00
Unavailable
17
NUT, FLG. LOCKING
8JP-RA360-00-00
Unavailable
