Partiron

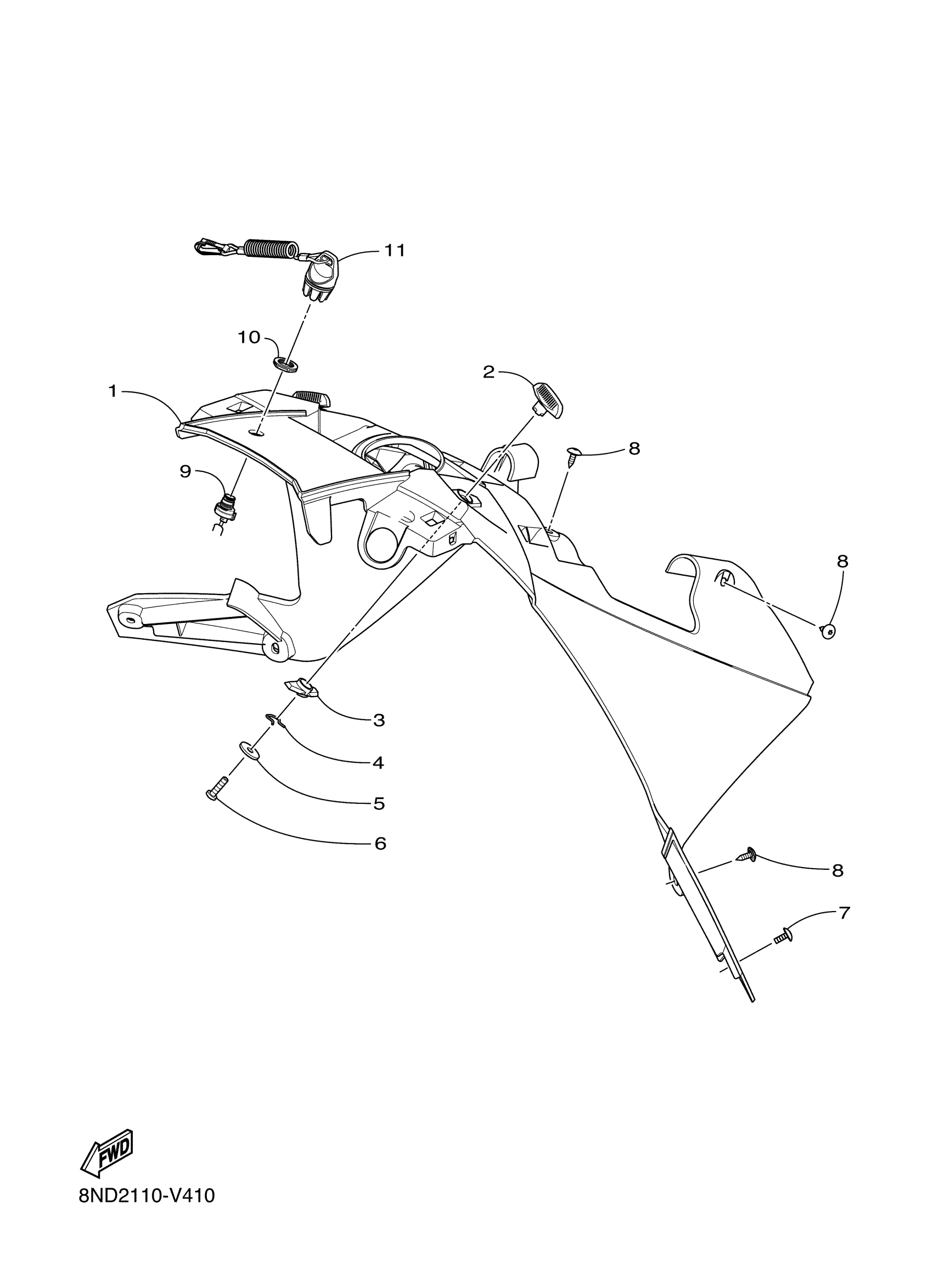
Yamaha TR8NTSMB (TRANSPORTER 800) 8NV1 2021 INSTRUMENT PANEL 2 Diagram

#

Description
Price

1

PANEL, INSTRUMENT

8ND-K7711-10-00

$97.99

2

KNOB

8KC-K7324-00-00

$1.86

3

PLATE, BACK UP 1

8KC-K7153-00-00

Unavailable

4

CLIP, 6

8JP-RAC15-00-00

$9.49

5

WASHER

8JP-RA429-00-00

$1.16

6

SCREW, 4

8KC-RA238-00-00

Unavailable

7

SCREW, TAPPING 1/4

8JP-RA202-00-00

$1.86

8

SCREW, 10-12X3/4

8KC-RA290-00-00

$1.86

9

STOP SWITCH

8ND-H6286-00-00

$72.99

10

RING, RETAINING

8MS-H4395-00-00

$2.12

11

CAP, SWITCH

8MS-H2552-00-00

$45.99