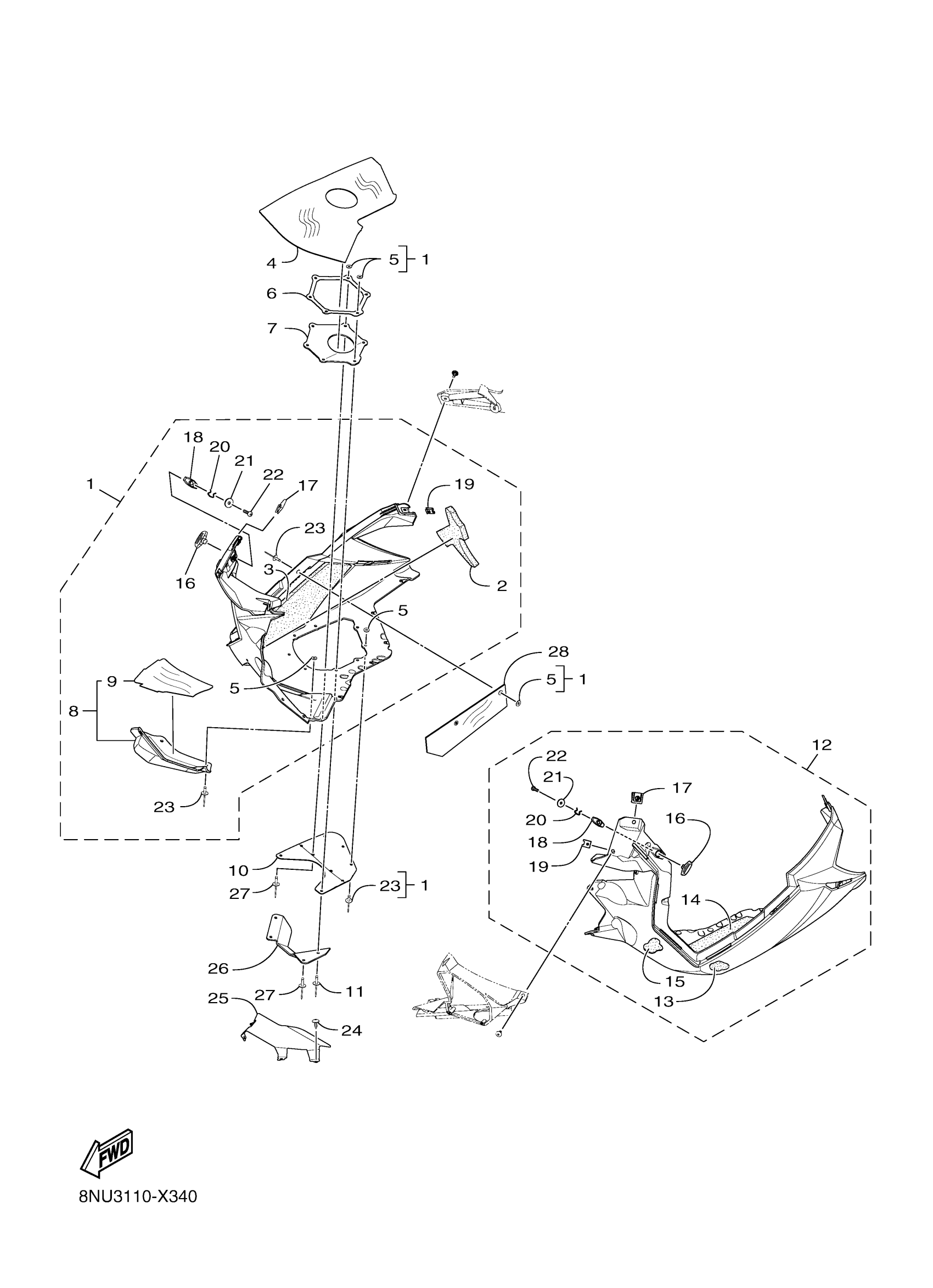
Yamaha TR4NTSR (TRANSPORTER LITE) 8NU9 2025 HOOD Diagram
#
Description
Price
2
DAMPER, NOISE 16
8ND-K7276-00-00
Unavailable
8
SHIELD 1
8ND-K7731-00-00
Unavailable
13
DAMPER, NOISE 12
8NS-K7272-00-00
Unavailable
16
KNOB
8KC-K7324-00-00
Unavailable
17
NUT, CLIP 1/4
8JP-RA350-00-00
Unavailable
18
PLATE, BACK UP 1
8KC-K7153-00-00
Unavailable
19
NUT, CLIP 10
8JP-RA352-00-00
Unavailable
20
CLIP, 6
8JP-RAC15-00-00
Unavailable
21
WASHER
8JP-RA429-00-00
Unavailable
22
SCREW, 4
8KC-RA238-00-00
Unavailable
23
RIVET, 14
8JP-RA523-00-00
Unavailable
24
SCREW, TAPPING 1/4
8KC-RA202-00-00
Unavailable
25
SHIELD, HEAT
8NT-F199H-00-00
Unavailable
26
PROTECTOR 2
8ND-K7552-00-00
Unavailable
27
RIVET, 17
8LJ-RA529-00-00
Unavailable
28
SHIELD, HEAT
8NV-F199H-00-00
Unavailable
