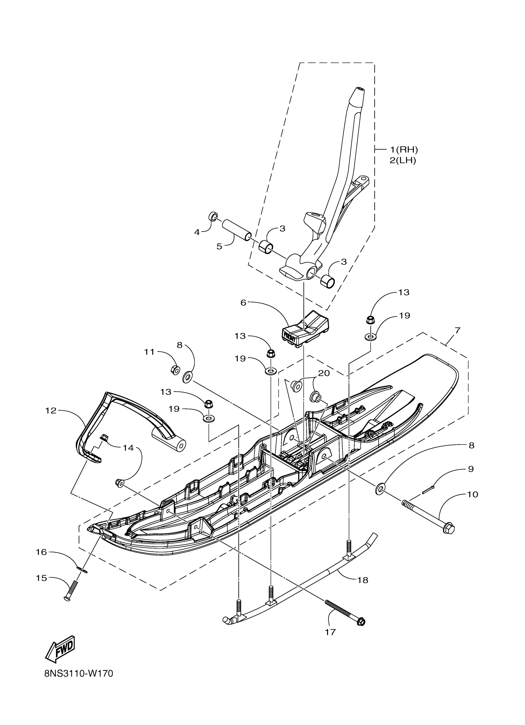
Yamaha TR4NTPB (TRANSPORTER LITE) 8NU5 2023 SKI Diagram
#
Description
Price
7
SKI COMP. 1
8KC-F3710-00-00
Unavailable
12
REINFORCEMENT, HEA
8KC-F3712-A0-00
Unavailable
13
NUT, FLG. LOCKING
8KC-RA358-00-00
Unavailable
14
NUT, FLG. LOCKING
8KC-RA358-00-00
Unavailable
16
WASHER 1
8KC-F3737-00-00
Unavailable
17
BOLT, REINFORCEMEN
8KC-F3756-00-00
Unavailable
18
RUNNER 2
8KC-F3732-00-00
Unavailable
19
WASHER, 10.98X28.0
8KC-RA443-00-00
Unavailable
20
. COLLAR 1
8EX-F3754-00-00
Unavailable
