- Partiron
- OEM Parts
- Suzuki
- Motorcycle
- 1975
- TM100 (1975)
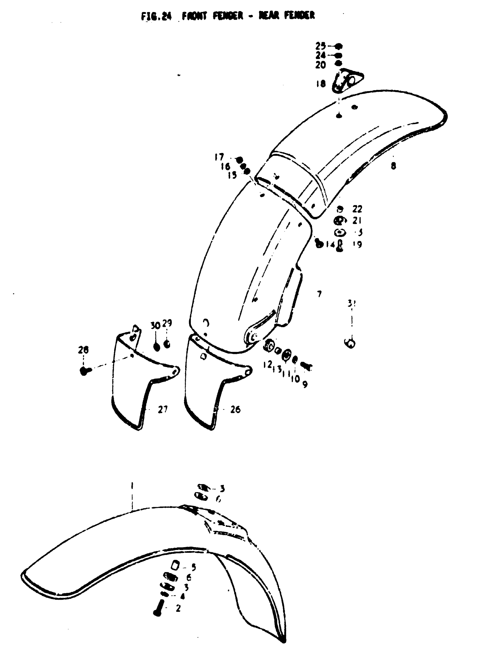
FRONT FENDER - REAR FENDER
Suzuki TM100 (1975) FRONT FENDER - REAR FENDER Diagram
#
Description
Price
1
FENDER, FRONT
53111-28300-163
Unavailable
7
BODY, REAR FENDER FRONT | L; TO 63112-28301
63112-28300-163
Unavailable
7
BODY, REAR FENDER FRONT | M
63112-28301-163
Unavailable
8
BODY, REAR FENDER REAR This part replaces 63113-28300-163.
63113-41000-163
Unavailable
18
BRACE, REAR FERDER
63140-28300
Unavailable
26
MUD GUARD | L; TO 63411-30002
63400-30002
Unavailable
27
MUD GUARD | M
63411-30002
Unavailable
