- Partiron
- OEM Parts
- Honda
- MOTORCYCLE
- Models With No Year
- TL250A MOTORCYCLE, JPN, VIN# TL250-1000001 TO TL250-1005276
CAM CHAIN + TENSIONER
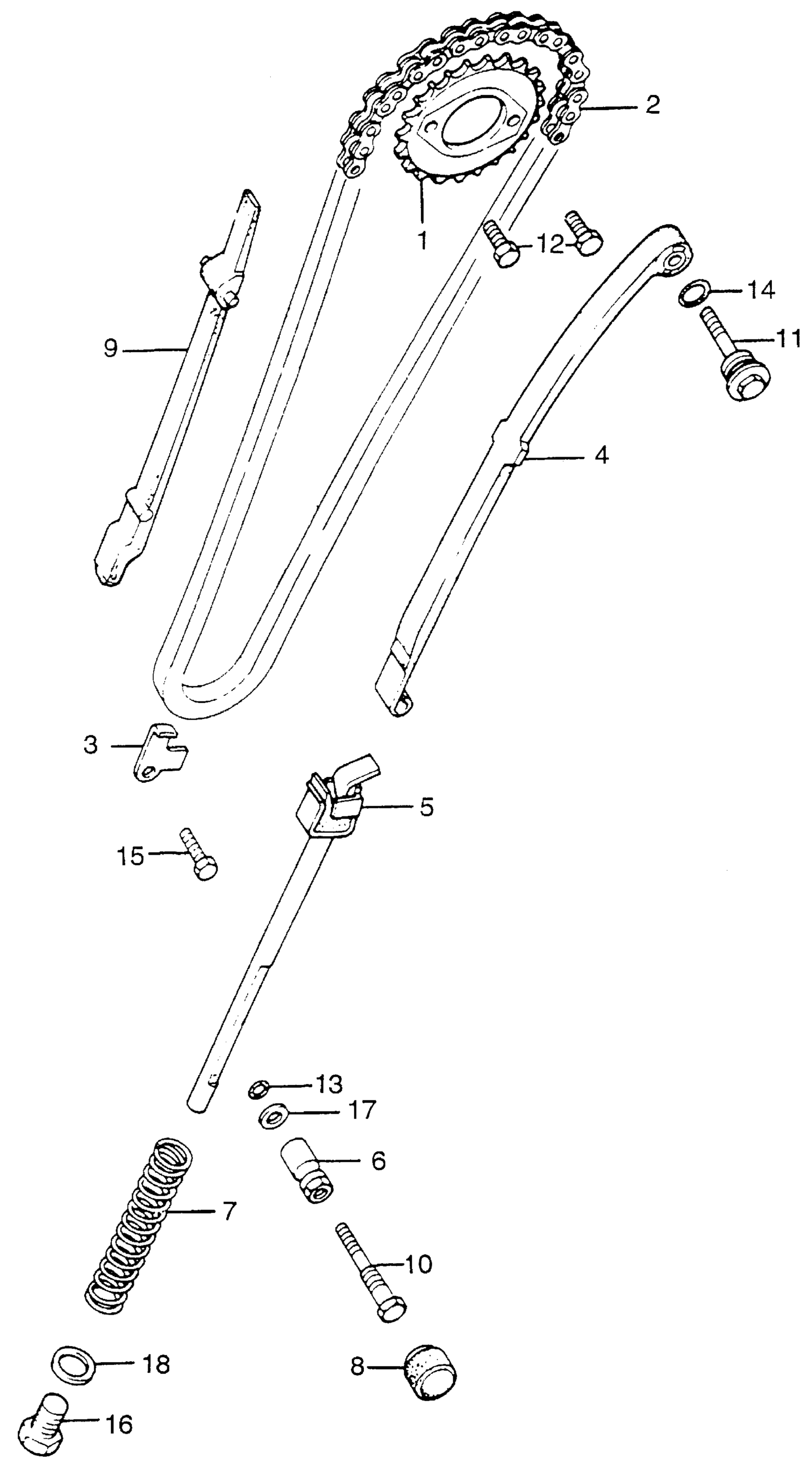
Honda TL250A MOTORCYCLE, JPN, VIN# TL250-1000001 TO TL250-1005276 CAM CHAIN + TENSIONER Diagram
#
Description
Price
1
SPROCKET, CAM
14321-329-000
Unavailable
2
CHAIN, CAM This part replaces 14401-286-003.
14401-410-003
Unavailable
2
CHAIN, CAM
14401-410-003
Unavailable
3
PLATE, CAM CHAIN SET (NOT AVAILABLE)
14414-329-000
Unavailable
4
TENSIONER, CAM CHAIN (HOKUSHIN) (NOT AVAILABLE)
14500-329-003
Unavailable
5
BAR, CAM CHAIN TENSIONER SETTING
14510-329-000
Unavailable
6
NUT, CAM CHAIN TENSIONER SETTING (NOT AVAILABLE)
14515-329-000
Unavailable
7
SPRING, CAM CHAIN TENSIONER (NOT AVAILABLE)
14541-329-000
Unavailable
8
CAP, CAM CHAIN TENSIONER SETTING BOLT (NOT AVAILABLE) | Use from Engine SN 1000001 to 1002714 This part replaces 14561-329-000.
14561-391-000
Unavailable
8
CAP, CAM CHAIN TENSIONER SETTING BOLT (NOT AVAILABLE) | Use from Engine SN 1002715
14561-391-000
Unavailable
9
GUIDE, CAM CHAIN (NOT AVAILABLE)
14611-376-000
Unavailable
10
BOLT, TENSIONER ADJUSTING (NOT AVAILABLE)
90018-329-000
Unavailable
11
BOLT, TENSIONER (NOT AVAILABLE)
90019-329-000
Unavailable
