Partiron

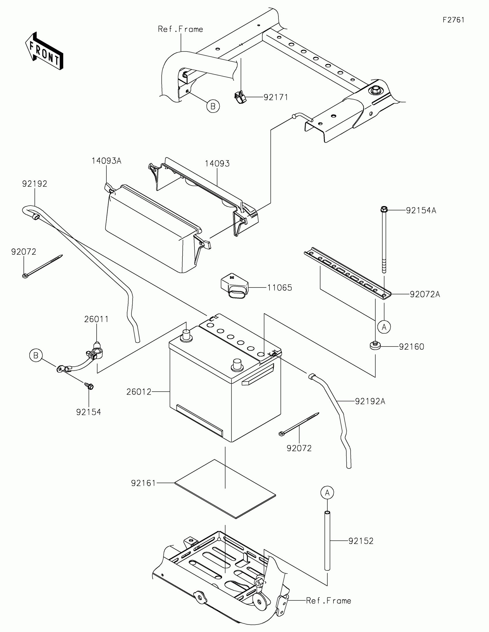
Kawasaki TERYX KRX® 1000 SE Battery Diagram

#

Description
Price

11065

CAP

11065-0850

$4.60

14093

COVER,BATTERY TERMINAL,INNER

14093-0800

$8.64

14093A

COVER,BATTERY TERMINAL,OUTER

14093-0801

$10.30

26011

WIRE-LEAD,BATTERY(-)

26011-1871

$16.07

26012

BATTERY,WET,(26R)

26012-7501

Unavailable

92072

BAND,92X2.4

92072-0791

$0.42

92072A

BAND,BATTERY

92072-0844

$6.93

92152

COLLAR,9.4X12.7X160

92152-2584

$12.71

92154

BOLT,FLANGED,6X16

92154-0551

$1.63

92154A

BOLT,FLANGED,8X175

92154-3973

$9.23

92160

DAMPER

92160-1396

$5.52

92161

DAMPER

92161-0578

$4.25

92171

CLAMP,BRAKE HOSE

92171-0316

$3.88

92192

TUBE,BREATHER,7X10X500

92192-2256

$2.35

92192A

TUBE,BREATHER,7X10X300

92192-2257

$1.44