Partiron

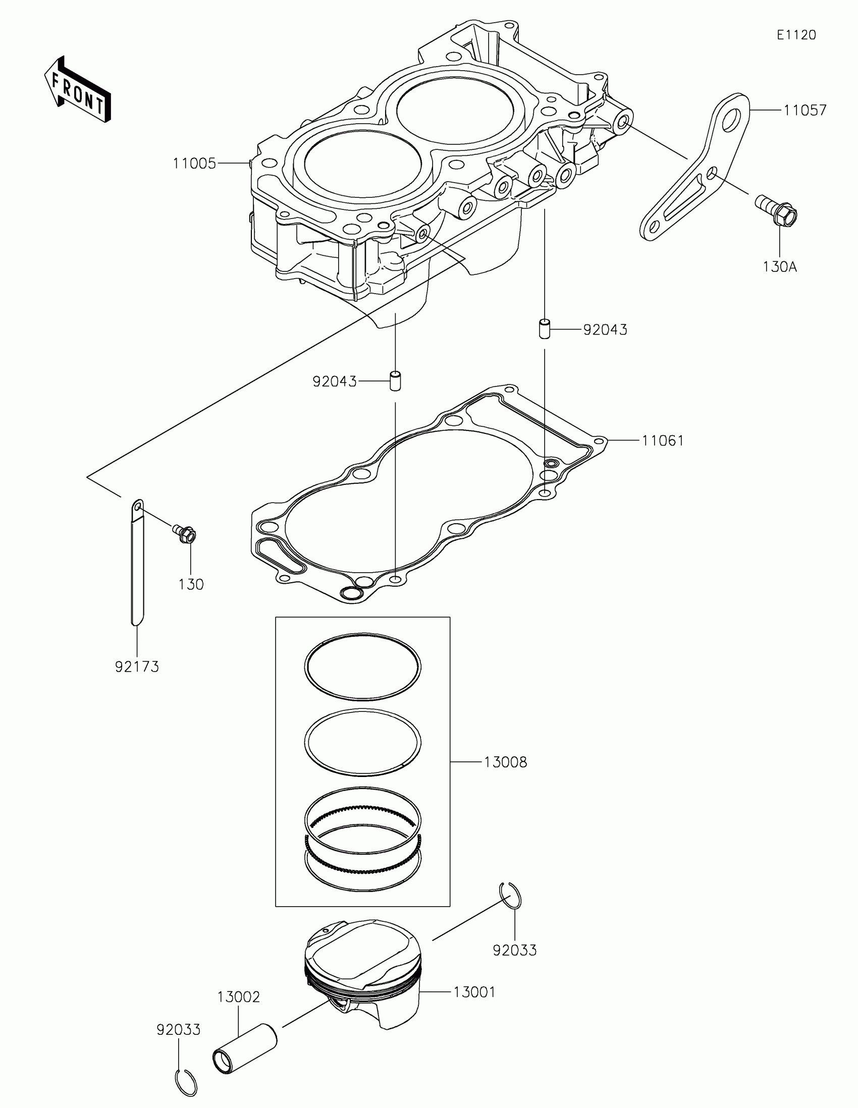
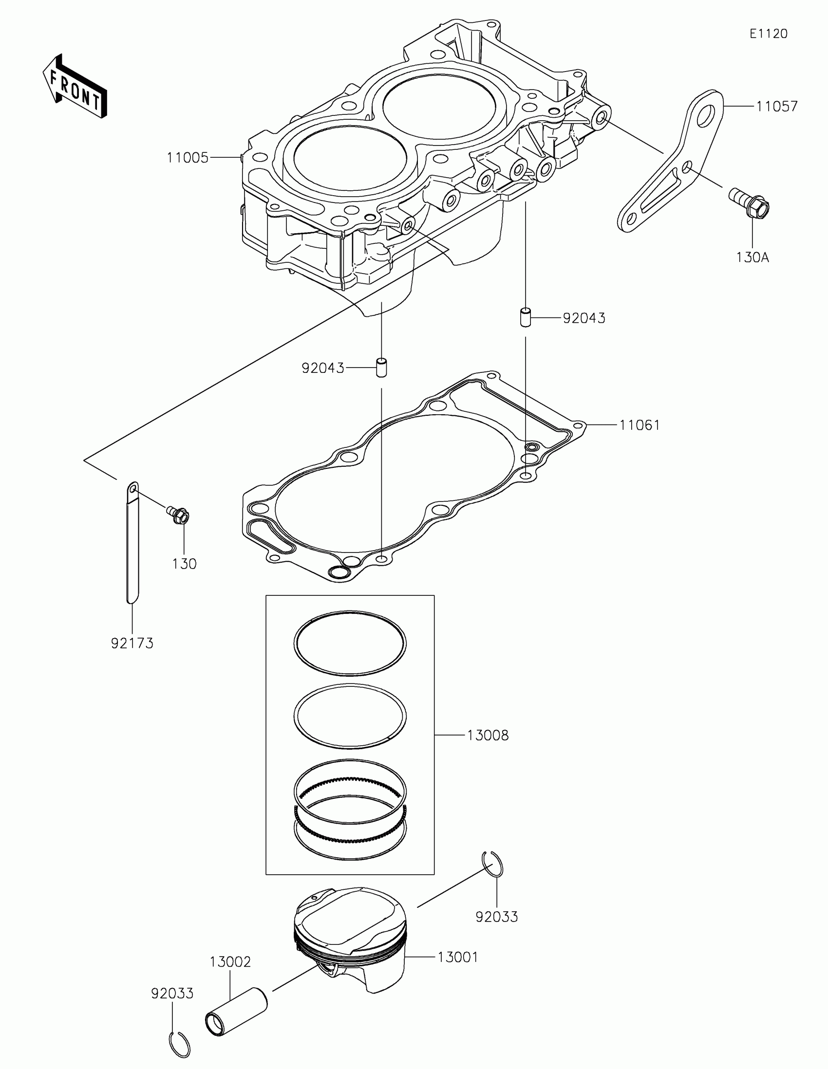
Kawasaki TERYX KRX® 1000 Cylinder/Piston(s) Diagram

#

Description
Price

11005

CYLINDER-ENGINE

11005-0695

$698.95

11057

BRACKET

11057-2438

$1.37

11061

GASKET,CYLINDER BASE

11061-1309

$18.82

13001

PISTON-ENGINE

13001-0807

$199.67

13002

PIN-PISTON

13002-0719

$45.60

13008

RING-SET-PISTON

13008-0581

$79.94

92033

RING-SNAP

92033-1188

$3.89

92043

PIN,8X14

92043-1567

$2.26

92173

CLAMP

92173-0098

$8.10

130

BOLT-FLANGED,6X12

130BA0612

$1.72

130A

BOLT-FLANGED,10X25

130BA1025

$3.40