Partiron

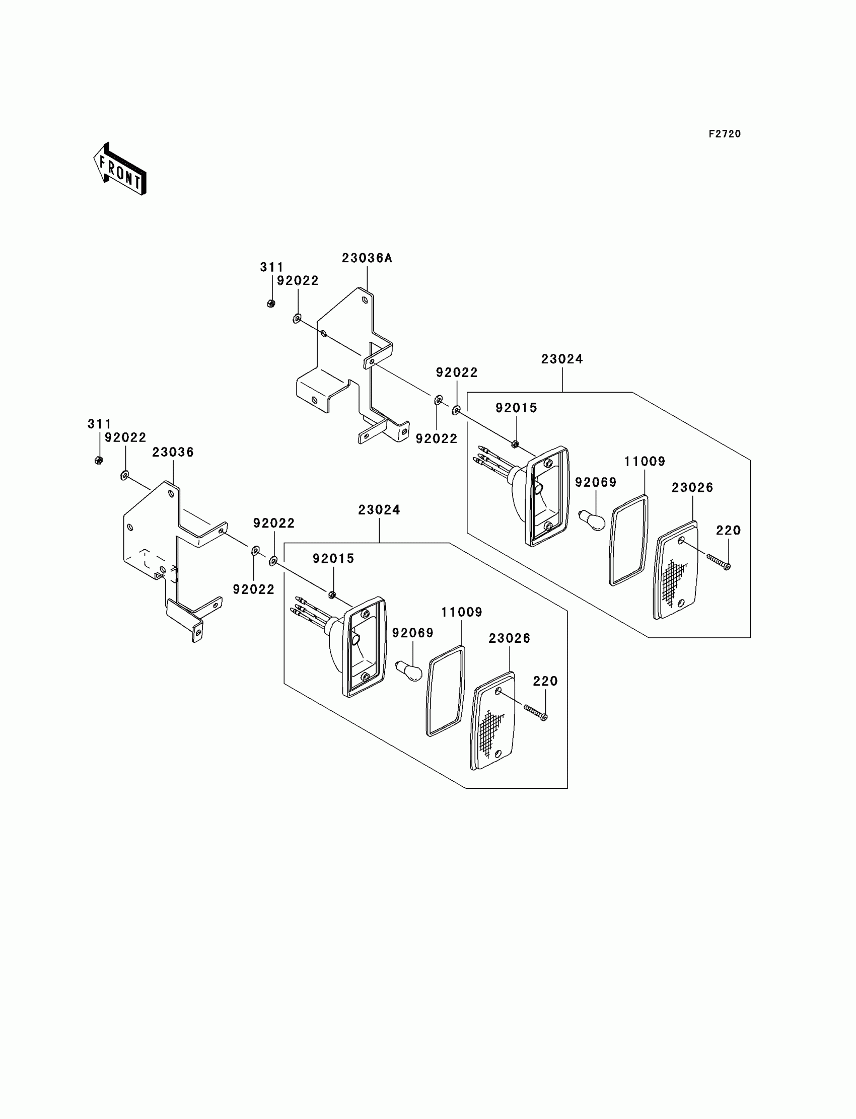
Kawasaki Teryx® 750 FI 4x4 NRA Outdoors Taillight(s) Diagram

#

Description
Price

220

SCREW-PAN-CROS,4X25

220AA0425

$1.06

311

NUT-HEX,4MM

311AA0400

$0.53

11009

GASKET,TAIL LAMP

11009-4004

$7.61

23024

LAMP-ASSY-TAIL

23024-1139

$121.87

23026

LENS,TAIL LAMP

23026-1239

$17.69

23036

BRACKET-TAIL LAMP,LH

23036-0010

$18.61

23036A

BRACKET-TAIL LAMP,RH

23036-0011

$18.61

92015

NUT,4MM

92015-1550

$3.35

92022

WASHER

92022-563

$1.13

92069

BULB,12V 27/8W

92069-059

$8.12