- Partiron
- OEM Parts
- Yamaha
- motorcycle
- 1993
- TDM850EC (TDM850 CA) 1993
TRANSMISSION
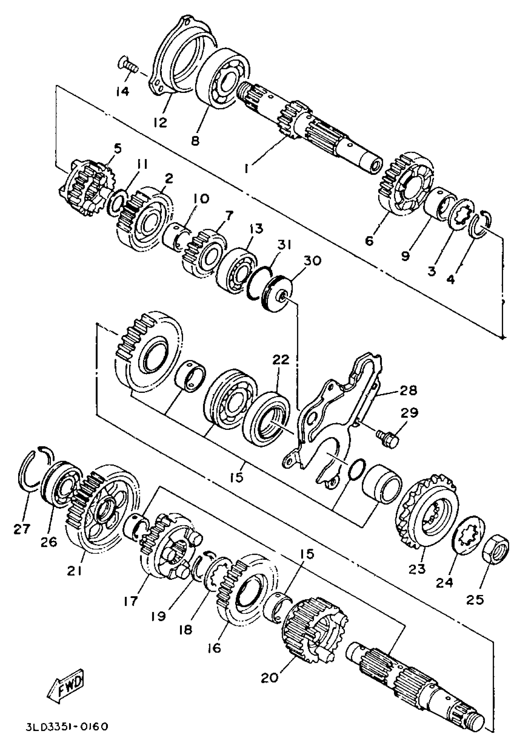
Yamaha TDM850EC (TDM850 CA) 1993 TRANSMISSION Diagram
#
1
AXLE, MAIN (13T)
3LD-17411-00-00
Unavailable
2
GEAR, 5TH PINION (30T)
3VD-17151-00-00
Unavailable
5
GEAR, 3RD PINION (22T)
3VD-17131-00-00
Unavailable
6
GEAR,4TH PINION
3VD-17141-01-00
Unavailable
7
GEAR, 2ND PINION (21T)
3LD-17121-00-00
Unavailable
9
COLLAR(1FN)
90387-253M6-00
Unavailable
10
COLLAR
90387-203M7-00
Unavailable
11
WASHER, PLATE
90201-200K3-00
Unavailable
12
HOUSING, BEARING 1
3LD-15163-10-00
Unavailable
13
BEARING(3LD)
93306-20464-00
Unavailable
15
DRIVE AXLE ASSEMBLY
3LD-17402-00-00
Unavailable
16
GEAR, 3RD WHEEL (29T)
3VD-17231-00-00
Unavailable
17
GEAR, 4TH WHEEL
3VD-17241-01-00
Unavailable
18
WASHER (4H7)
90209-25196-00
Unavailable
19
CIRCLIP (2H7)
93440-28062-00
Unavailable
20
GEAR, 5TH WHEEL (27T)
3VD-17251-00-00
Unavailable
21
GEAR, 1ST WHEEL (37T)
3LD-17211-00-00
Unavailable
22
OIL SEAL
93102-35469-00
Unavailable
23
SPROCKET, DRIVE 16T (16T)
3VD-17460-00-00
Unavailable
24
WASHER, LOCK(3LD)
90215-21290-00
Unavailable
25
NUT 152174630000
90179-18020-00
Unavailable
26
BEARING(1FN)
93306-20455-00
Unavailable
27
CIRCLIP(1FN)
93440-45144-00
Unavailable
28
PLATE, COVER
3LD-17471-01-00
Unavailable
29
BOLT, FLANGE
95817-06012-00
Unavailable
30
COVER, AIR CLEANER
3LD-15414-00-00
Unavailable
31
O-RING (626)
93210-33133-00
Unavailable
