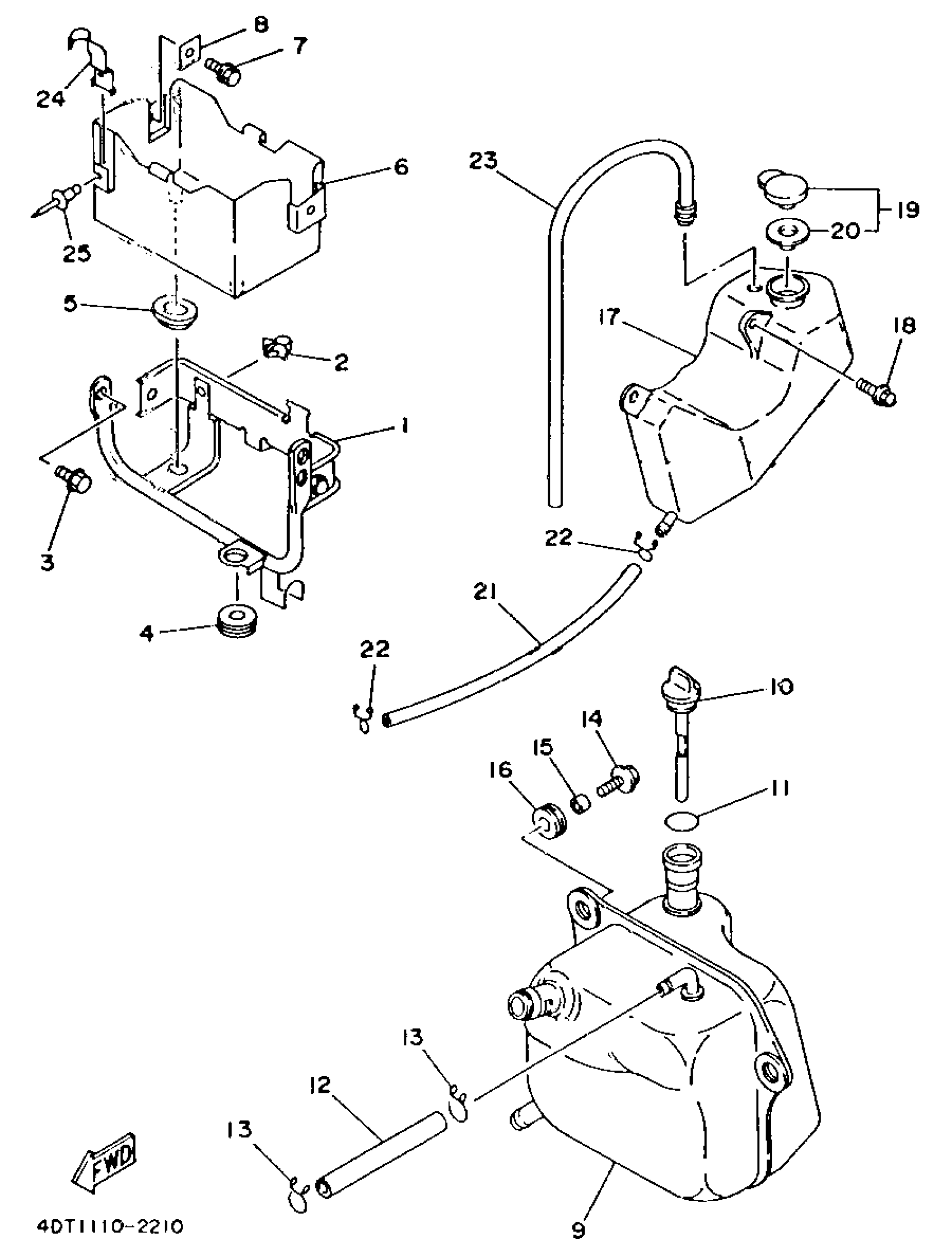
Yamaha TDM850EC (TDM850 CA) 1993 OIL TANK Diagram
#
Description
Price
1
STAY, BATTERY 1
3VD-22535-00-00
Unavailable
2
CLAMP
90464-11163-00
Unavailable
6
BOX, BATTERY
3VD-2177G-10-00
Unavailable
8
WASHER, SPEC''L SHAP
90209-07319-00
Unavailable
9
OIL TANK ASSEMBLY
3VD-21750-00-00
Unavailable
10
GAUGE, LEVEL
3VD-21761-00-00
Unavailable
12
HOSE
3VD-2312F-00-00
Unavailable
17
TANK, RECOVERY
3VD-21871-00-00
Unavailable
18
BOLT, WITH WASHER
90119-06152-00
Unavailable
19
CAP
1AA-21815-00-00
Unavailable
20
GASKET
1AA-21874-00-00
Unavailable
21
HOSE (L1500)
90445-090F6-00
Unavailable
22
CLIP (8L2)
90467-08017-00
Unavailable
23
PIPE 1
3VD-21816-00-00
Unavailable
24
HOLDER, VALVE
4DT-2173A-00-00
Unavailable
25
RIVET, BLIND (15A)
90267-32071-00
Unavailable
