- Partiron
- OEM Parts
- Yamaha
- motorcycle
- 1993
- TDM850EC (TDM850 CA) 1993
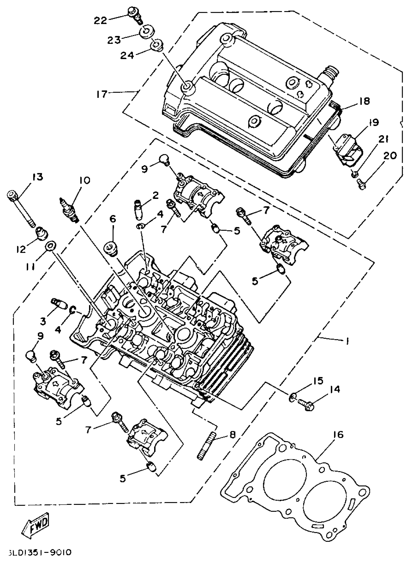
CYLINDER HEAD
Yamaha TDM850EC (TDM850 CA) 1993 CYLINDER HEAD Diagram
#
Description
Price
1
CYLINDER HEAD ASSEMBLY
3VD-11101-00-00
Unavailable
3
GUIDE, EXHAUST VALVE
3LD-11134-10-00
Unavailable
10
DPR9EA9 NGK SPLUG 10PK
DPR-9EA90-00-00
Unavailable
13
BOLT, SOCKET
91317-06150-00
Unavailable
15
. GASKET
90430-08143-00
Unavailable
16
GASKET, CYLINDER HEAD 1
4NX-11181-00-00
Unavailable
17
COVER ASSEMBLY, CYLINDER HEAD
3VD-Y1119-00-00
Unavailable
18
GASKET, HEAD COVER 1
3LD-11193-02-00
Unavailable
19
BREATHER ASSY
3LD-11160-02-00
Unavailable
20
SCREW, PAN HEAD(3XP)
98517-04006-00
Unavailable
21
YBS67-4 WASHER, SPRING
92990-04100-00
Unavailable
22
BOLT(3TJ)
90109-064F0-00
Unavailable
23
WASHER(46X)
90209-11262-00
Unavailable
24
RUBBER, MOUNT 1
2GH-1111G-00-00
Unavailable
