- Partiron
- OEM Parts
- Yamaha
- motorcycle
- 1993
- TDM850EC (TDM850 CA) 1993
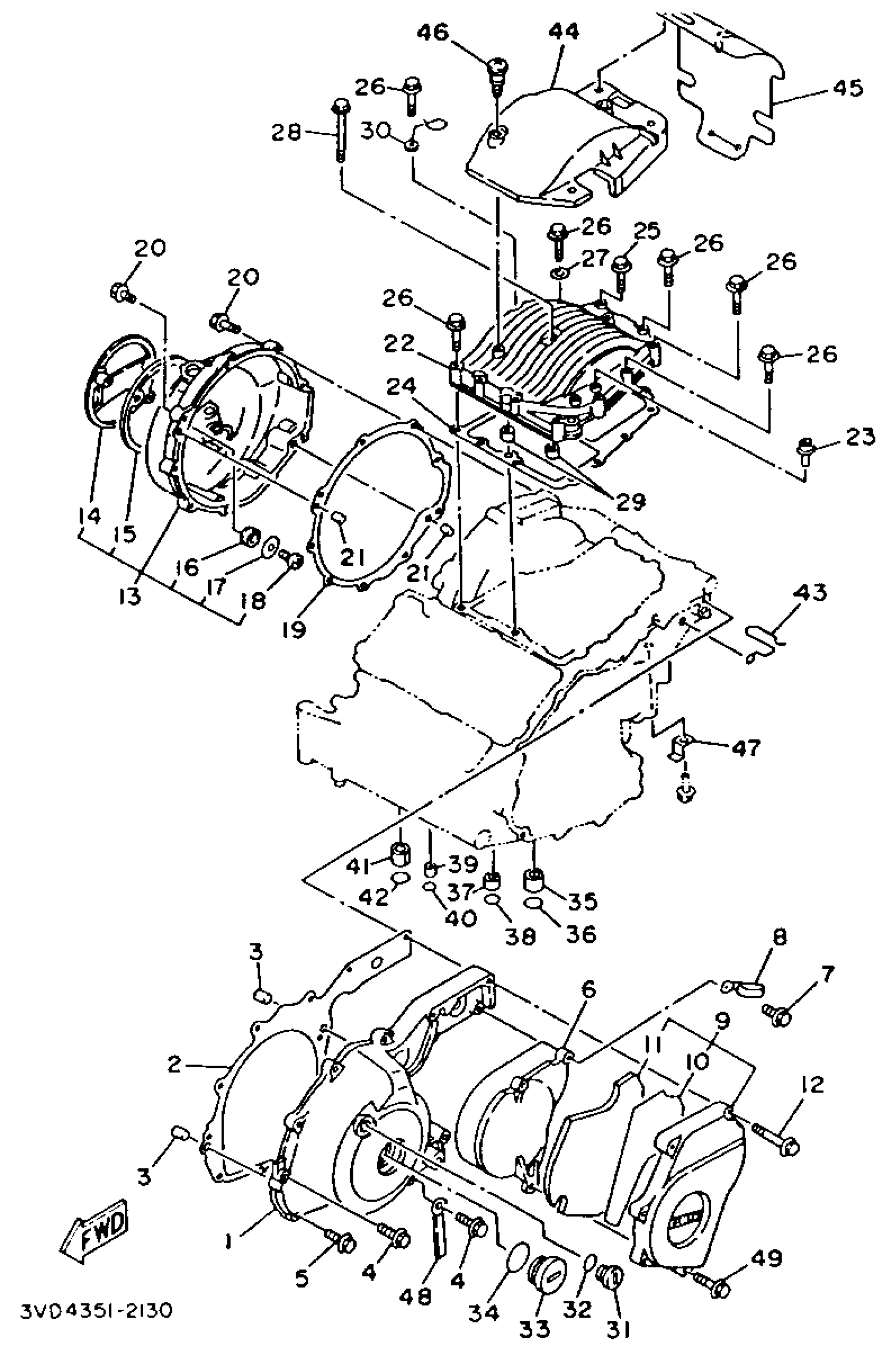
CRANKCASE COVER 1
Yamaha TDM850EC (TDM850 CA) 1993 CRANKCASE COVER 1 Diagram
#
1
COVER, CRANKCASE L
3VD-15411-10-00
Unavailable
2
GASKET, CRANKCASE COVER 1
3VD-15451-00-00
Unavailable
6
COVER, CHAIN CASE
3LD-15418-00-00
Unavailable
8
CLAMP(51Y)
90465-08277-00
Unavailable
9
CRCS COVER ASSEMBLY RASSEMBLY 2
3VD-15420-10-00
Unavailable
10
. DAMPER, ENG MOUNT 2ENGINE MOUNT 2
3VD-15326-00-00
Unavailable
11
. DAMPER 3
3VD-15335-00-00
Unavailable
12
BOLT, SMALL FLANGE
95027-06055-00
Unavailable
13
CRANKCASE COVER ASSY 3
3VD-15430-11-00
Unavailable
14
COVER, CAP
3VD-15417-10-00
Unavailable
15
. RING, RUBBER
3LD-15449-00-00
Unavailable
16
GROMMET
1JK-15486-00-00
Unavailable
17
. WASHER
90209-05279-00
Unavailable
18
SCREW, PAN HEAD(62X)
97885-05010-00
Unavailable
19
GASKET, CRANKCASE COVER 3
4NX-15462-01-00
Unavailable
22
COVER, GENERATOR R
3VD-15425-10-00
Unavailable
23
PIPE, BREATHER 3
(583-11126-00-00)
Unavailable
24
GASKET, CARBURETOR COVER 2
3VD-15463-00-00
Unavailable
25
BOLT, FLANGE(4BH)
95024-06035-00
Unavailable
26
BOLT, FLANGE(4BH)
95024-06035-00
Unavailable
27
WASHER, PLATE (22F)
90201-066F0-00
Unavailable
28
BOLT, SMALL FLANGE
95027-06070-00
Unavailable
29
PIN, DOWEL(3VD)
99530-10114-00
Unavailable
30
CLAMP
90465-26349-00
Unavailable
31
PLUG, STRAIGHT SCREW(3VD)
90340-14151-00
Unavailable
32
O-RING (2H9)
93210-14369-00
Unavailable
33
PLUG, STRAIGHT SCRW
90340-32142-00
Unavailable
34
O-RING (341)
93210-32172-00
Unavailable
35
COLLAR(3HM)
90387-085N0-00
Unavailable
36
O-RING (611)
93210-10096-00
Unavailable
37
COLLAR(3LD)
90387-106W6-00
Unavailable
38
O-RING(3LD)
93210-12790-00
Unavailable
39
COLLAR (3L6)
90387-06761-00
Unavailable
40
O-RING
93210-07438-00
Unavailable
41
COLLAR
90387-130W6-00
Unavailable
42
O-RING (22U)
93210-15566-00
Unavailable
43
CLAMP
90465-20342-00
Unavailable
44
COVER ASSY
3VD-15490-01-00
Unavailable
45
FLAP
3VD-21621-01-00
Unavailable
46
BOLT 1
3KJ-15481-00-00
Unavailable
47
CLAMP (54U)
90462-10147-00
Unavailable
48
CLAMP(4MX)
90465-06376-00
Unavailable
49
BOLT, FLANGE(4AS)
95024-06030-00
Unavailable
