- Partiron
- OEM Parts
- Yamaha
- motorcycle
- 1970
- TD2 (TD2) 1970
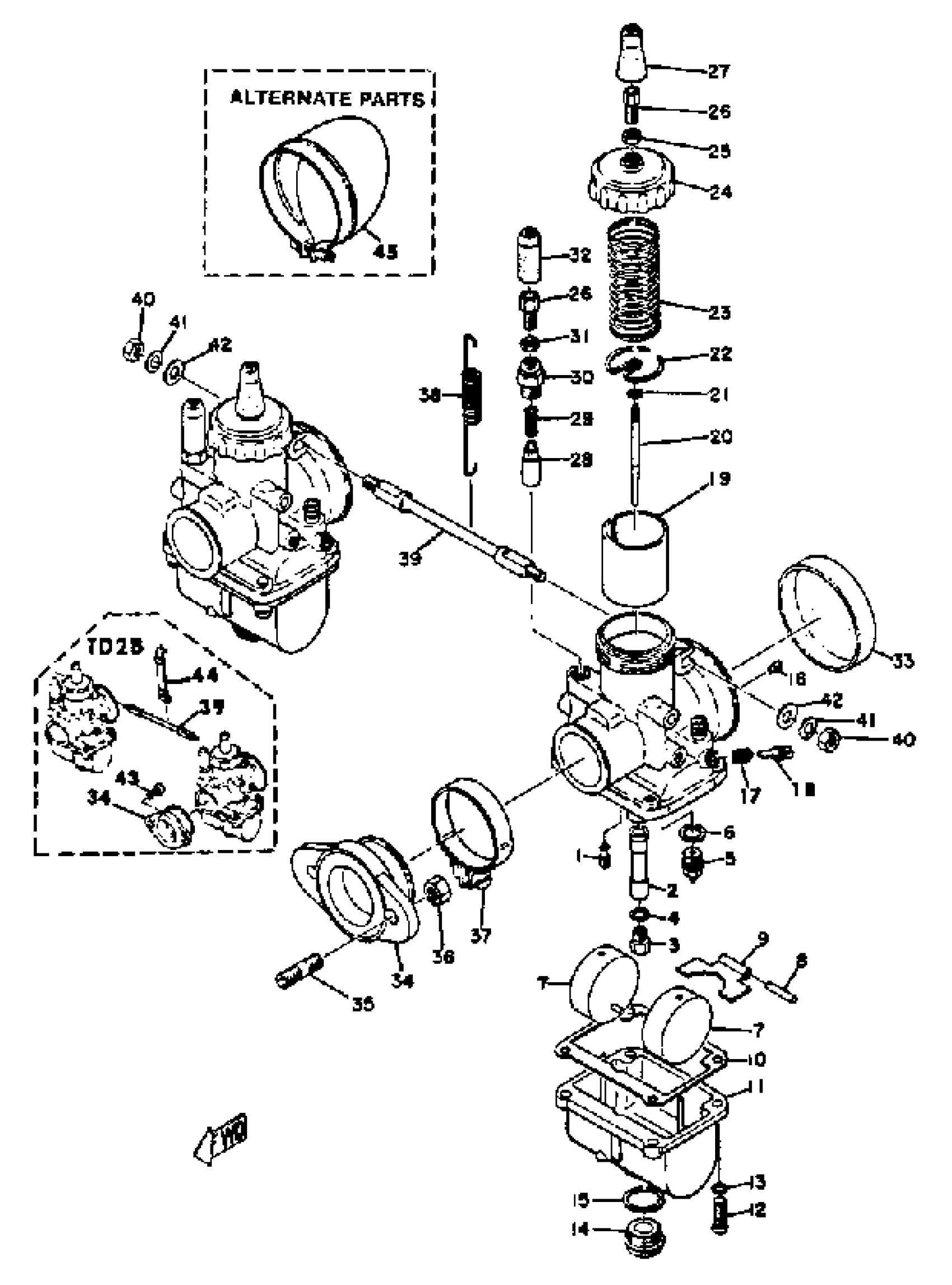
CARBURETOR
Yamaha TD2 (TD2) 1970 CARBURETOR Diagram
#
1
CARBURETOR ASSEMBLY 1
(240-14101-61-00)
Unavailable
2
NOZZLE, MAIN
(239-14141-36-00)
Unavailable
3
JET, MAIN #250
137-14143-50-A1
Unavailable
3
JET, MAIN #260
137-14143-52-00
Unavailable
3
JET, MAIN #280
137-14143-56-A0
Unavailable
3
JET, MAIN #290
137-14143-58-A1
Unavailable
3
. UNAVAILABLE IN PRICE BOOK
137-14153-54-00
Unavailable
6
WASHER,VALVE SEAT
239-14195-00-00
Unavailable
7
FLOAT
(239-14185-00-00)
Unavailable
9
ARM, FLOAT
(239-14187-00-00)
Unavailable
10
GASKET, FLOAT CHMBR
(239-14184-00-00)
Unavailable
11
BODY, FLOAT CHMBR 1
(239-14181-00-00)
Unavailable
12
SCREW, PAN HEAD(6B0)
97885-05016-00
Unavailable
13
YBS67-5 WASHER, SPRING
92990-05100-00
Unavailable
14
PLUG, SCREW
(239-14115-00-00)
Unavailable
15
. WASHER, PLUG SCREW
239-14117-00-00
Unavailable
16
JET, AIR (#2.0)
239-14172-20-00
Unavailable
17
SPRING, AIR ADJUSTING
127-14134-00-00
Unavailable
18
AIR SCREW SET
23X-14104-00-00
Unavailable
19
. NO LONGER AVAILABLE
239-14112-30-00
Unavailable
20
NEEDLE
(239-14116-04-00)
Unavailable
21
CLIP
3FA-14137-00-00
Unavailable
22
. SEAT, SPRING
239-14136-00-00
Unavailable
23
. SPRING, THRTL VALVE
239-14131-00-00
Unavailable
24
. TOP, MIXING CHAMBER
239-14158-00-00
Unavailable
25
NUT, WIRE ADJUSTING
802-14161-00-00
Unavailable
26
CABLE ADJUST SCREW SET
12G-14106-00-00
Unavailable
27
CAP
8A7-14169-00-00
Unavailable
28
PLUNGER, STARTER
58E-14171-00-00
Unavailable
29
SPRING, PLUNGER
127-14135-00-00
Unavailable
30
CAP, PLUNGER
127-14174-00-00
Unavailable
31
NUT, WIRE ADJUSTING
127-14161-00-00
Unavailable
32
CAP
(174-14169-01-00)
Unavailable
33
COVER, MIXING
240-14157-00-00
Unavailable
34
MANIFOLD, INTAKE
(240-13555-01-00)
Unavailable
34
MANIFOLD, INTAKE
(295-13555-00-00)
Unavailable
35
BOLT, STUD
(90116-08038-00)
Unavailable
36
. NUT
95380-08700-00
Unavailable
37
CLAMP, HOSE
(90460-45056-00)
Unavailable
38
UNAVAILABLE IN PRICE BOOK
[24-01448-70-00
Unavailable
39
SCREW, ROD
(240-14486-00-00)
Unavailable
40
NUT, HEXAGON
95380-06600-00
Unavailable
41
WASHER, SPRING
92995-06100-00
Unavailable
42
YBS66-6 WASHER, PLAIN
92990-06200-00
Unavailable
43
BOLT, SOCKET
91317-08016-00
Unavailable
44
HOLDER
(294-14491-00-00)
Unavailable
45
COVER 2
(240-14418-10-00)
Unavailable
