- Partiron
- OEM Parts
- Suzuki
- Motorcycle
- 1977
- TC185 (1977)
FRONT FORK
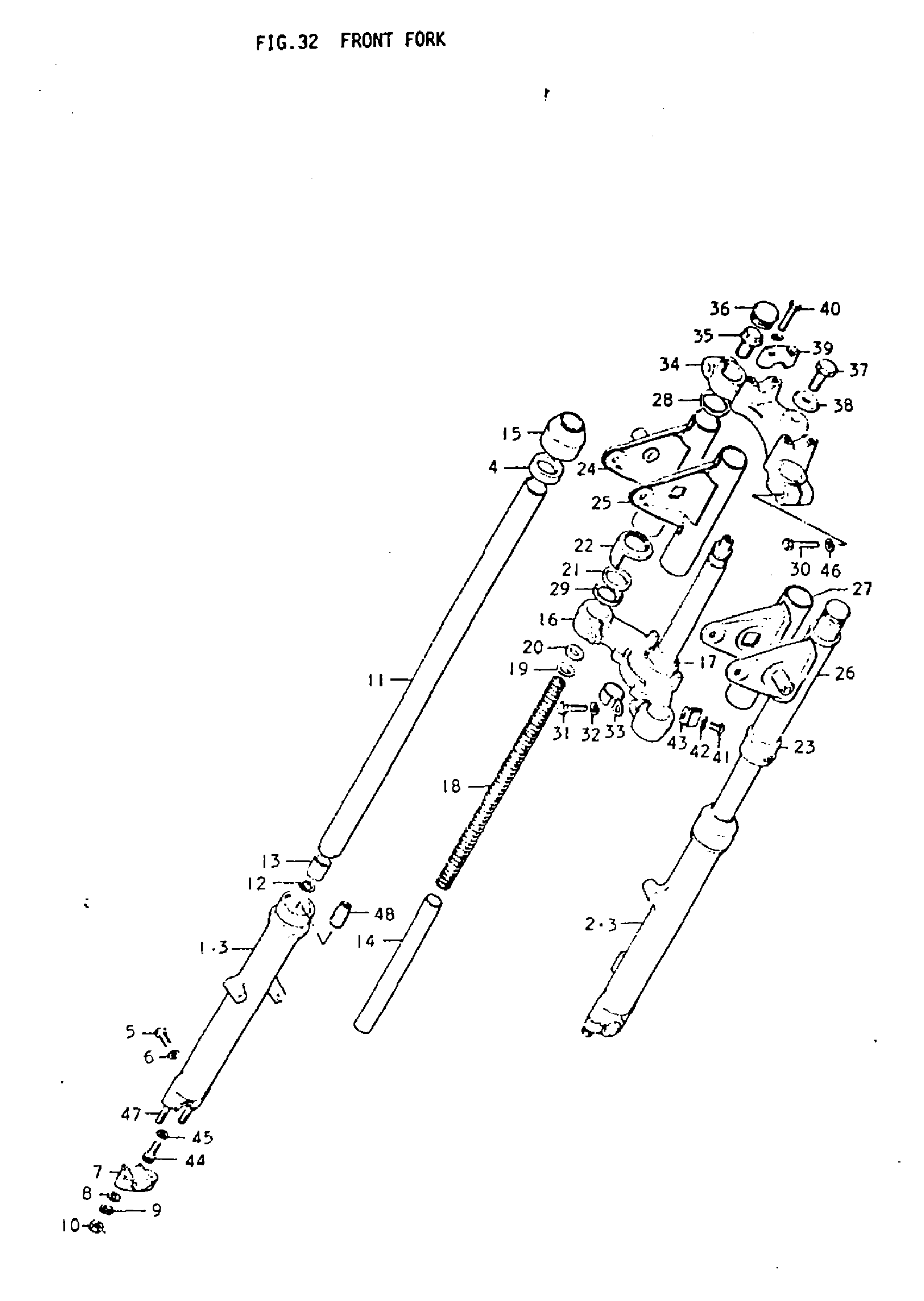
Suzuki TC185 (1977) FRONT FORK Diagram
#
0
FORK ASSY, FRONT | L; TO 51100-28410-126
51100-28410-019
Unavailable
0
FORK ASSY, FRONT | M; TO 51100-28411-126
51100-28410-126
Unavailable
0
NO DESCRIPTION AVAILABLE | A This part replaces 51100-28411-291.
51106-28411
Unavailable
0
FORK ASSY, FRONT | B; Includes Item(s) 1 - 48
51100-28620-291
Unavailable
1
TUBE, OUTER RH | L; TO 51140-36011 USED WITH 51132-16511
51130-36010
Unavailable
2
TUBE, OUTER LH | L; TO 51140-36011 USED WITH 51132-16511
51140-36010
Unavailable
3
TUBE, OUTER | M,A,B
51140-36011
Unavailable
4
OIL SEAL
51153-08011
Unavailable
7
HOLDER, AXLE | L
51132-16510
Unavailable
7
HOLDER, AXLE | M,A,B
51132-16511
Unavailable
11
TUBE, INNER
51111-28410
Unavailable
12
SNAP RING | FROM 51118-28310
51118-28312
Unavailable
13
PISTON | L,M
51112-28310
Unavailable
13
PISTON | A,B
51112-28311
Unavailable
14
CYLINDER | L,M
51146-28310
Unavailable
14
CYLINDER | A,B
51146-28311
Unavailable
16
STEERING STEM | L; TO 51410-28013
51410-28012
Unavailable
16
NO DESCRIPTION AVAILABLE | M,A,B This part replaces 51410-28013.
51410-36260
Unavailable
18
SPRING
51171-28410
Unavailable
19
GUIDE, SPRING | L,M
51172-28010
Unavailable
20
WASHER
51186-29620
Unavailable
21
CUSHION | L
51553-07110
Unavailable
22
COVER, STEERING STEM RH
51554-28010
Unavailable
23
COVER, STEERING STEM LH
51557-28010
Unavailable
24
COVER, FORK RH | L; CHROME-PLATED
51530-29621
Unavailable
24
NO DESCRIPTION AVAILABLE | M This part replaces 51530-29630-126.
51500-29820-126
Unavailable
24
NO DESCRIPTION AVAILABLE | A This part replaces 51530-29630-291.
51500-29820-126
Unavailable
25
COVER, FORK RH | B
51530-28620-291
Unavailable
26
COVER, FORK LH | L; CHROME-PLATED
51540-29621
Unavailable
26
NO DESCRIPTION AVAILABLE | M This part replaces 51540-29630-126.
51500-29820-126
Unavailable
26
NO DESCRIPTION AVAILABLE | A This part replaces 51540-29630-291.
51500-29820-126
Unavailable
27
COVER, FORK LH | B
51540-28620-291
Unavailable
28
GUIDE, COVER
51551-20210
Unavailable
29
GUIDE, COVER
51558-28010
Unavailable
31
BOLT
51451-28012
Unavailable
33
CLIP
51455-36010
Unavailable
34
HEAD, STEERING STEM | L; TO 51311-28012-019
51311-28011-019
Unavailable
34
HEAD, STEERING STEM | M,A,B This part replaces 51311-28210-019.
51311-29320-291
Unavailable
35
BOLT
51180-29010
Unavailable
36
CAP
51189-29010
Unavailable
38
WASHER | L,M
51356-22011
Unavailable
43
CLIP
51453-30011
Unavailable
44
BOLT
51147-36010
Unavailable
48
PEACE, OIL LOCK | A,B
51195-28311
Unavailable
