- Partiron
- OEM Parts
- Suzuki
- Motorcycle
- 1975
- T500J (1975)
OIL PUMP
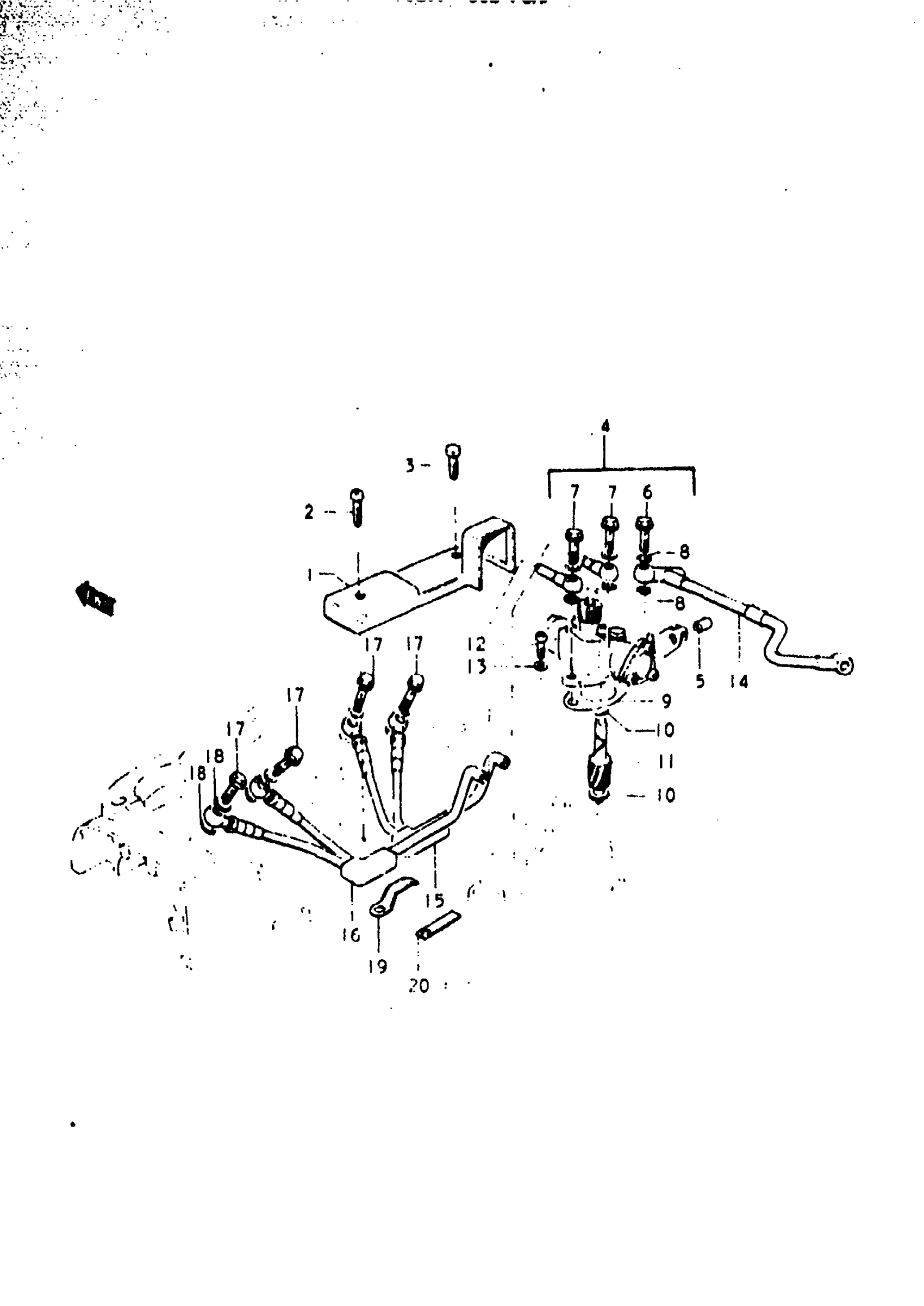
Suzuki T500J (1975) OIL PUMP Diagram
#
Description
Price
1
COVER, OIL PUMP | R,J This part replaces 11441-15000.
11441-15001
Unavailable
1
COVER, OIL PUMP | K,L,M
11441-15001
Unavailable
4
NO DESCRIPTION AVAILABLE | R,J,K,L This part replaces 16001-15815.
16100-15111
Unavailable
4
NO DESCRIPTION AVAILABLE | M; Includes Item(s) 5 - 9 This part replaces 16100-15110.
16100-15111
Unavailable
5
TERMINAL, CABLE | R,J,K,L,M
13683-51010
Unavailable
7
UNION BOLT | R,J,K,L,M
09360-06005
Unavailable
9
GASKET, OIL PUMP | R,J,K,L,M
16731-11000
Unavailable
11
GEAR, TACHOMETER DRIVEN | R,J,K,L,M; NT:10
26431-15000
Unavailable
12
SCREW | M
02111-06168
Unavailable
14
HOSE, OIL NO.1 | R,J,K,L This part replaces 16810-15130.
16810-15131
Unavailable
14
HOSE, OIL NO.1 | M
16810-15131
Unavailable
15
HOSE, OIL NO.2 | R,J,K,L,M
16820-15033
Unavailable
16
HOSE, OIL NO.3 | R,J,K,L,M
16840-15033
Unavailable
19
CLAMP, WIRING HARNESS | R,J,K,L; TO 09403-07301
09403-08304
Unavailable
19
CLAMP | M This part replaces 09403-07301.
09403-07309
Unavailable
20
CLAMP, WIRING HARNESS | R,J,K,L,M
09403-00008
Unavailable
