- Partiron
- OEM Parts
- Suzuki
- Motorcycle
- 1975
- T500J (1975)
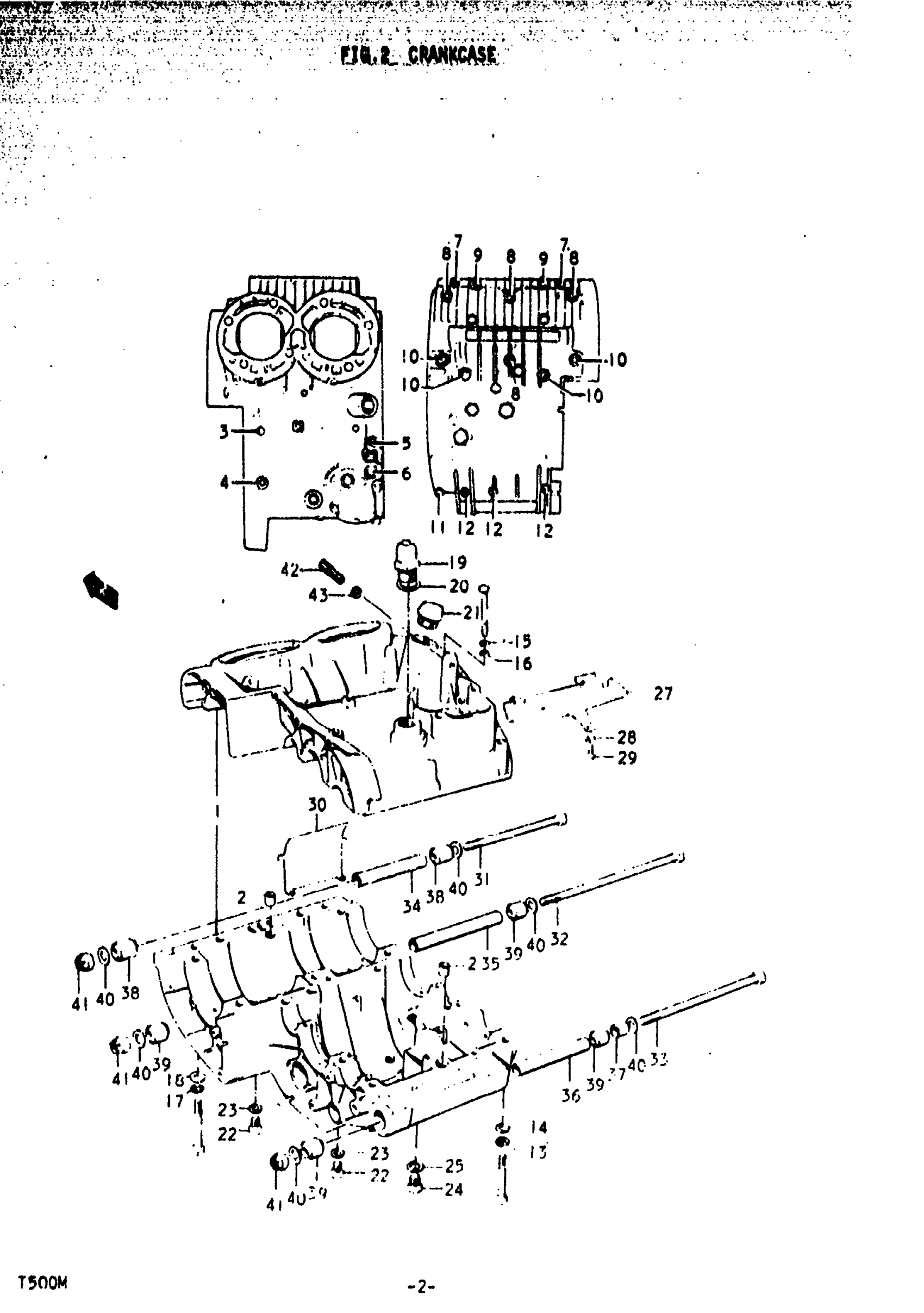
CRANKCASE
Suzuki T500J (1975) CRANKCASE Diagram
#
Description
Price
1
CRANKCASE ASSY | R,J,K,L; TO 11300-15830
11301-15801
Unavailable
1
CRANKCASE ASSY | M; Includes Item(s) 2 - 18
11300-15830
Unavailable
3
BOLT | R,J,K,L,M This part replaces 01112-06708.
09100-06062
Unavailable
10
BOLT (1) | R,J,K,L,M; 10x100
09100-10035
Unavailable
19
PLUG, BREARTHER | R,J,K,L
24821-15000
Unavailable
27
PLATE, OIL GUIDE | R,J,K,L,M
24881-15000
Unavailable
30
DEFLECTOR, OIL | R,J,K,L,M
24829-15000
Unavailable
31
BOLT, ENGINE FRONT | R,J,K,L,M; 12x180
09104-12104
Unavailable
32
BOLT, ENGINE MOUNTING NO.1 | R,J,K,L,M; 12x230 This part replaces 09104-12106.
09104-12105
Unavailable
33
BOLT, ENGINE REAR | R,J,K,L,M; 12x222
09104-12105
Unavailable
34
SPACER, FRONT | R,J,K,L,M; 12.2x17x96
09180-12024
Unavailable
35
SPACER, REAR | R,J,K,L,M; 12.2x17x138
09180-12026
Unavailable
36
SPACER, REAR | R,J,K,L,M; 12.2x17x104
09180-12025
Unavailable
37
SPACER, REAR OUTER | R,J,K,L,M; 12.2x17x30
09180-12027
Unavailable
38
BUSHING (1) | R,J,K,L,M; ID:12.1, L:27
09319-12005
Unavailable
39
BUSHING (2) | R,J,K,L,M; ID:12.5, L:27
09319-12006
Unavailable
41
NUT | L
09159-12101
Unavailable
