- Partiron
- OEM Parts
- Suzuki
- Motorcycle
- 1970
- T500-1 (1970)
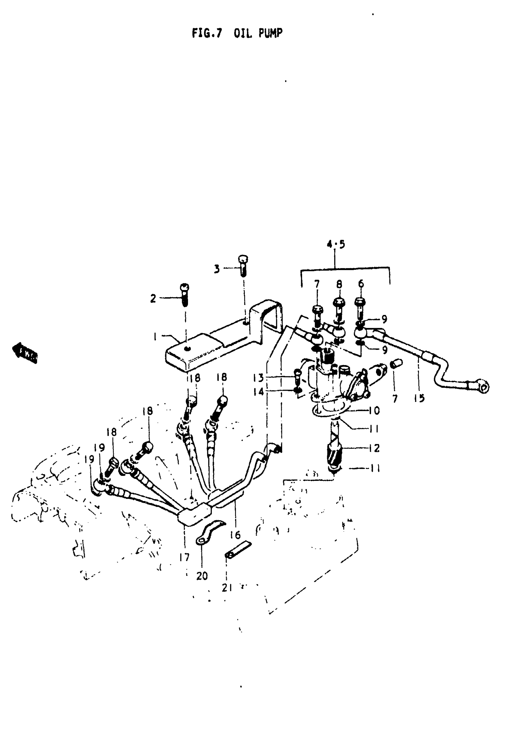
OIL PUMP
Suzuki T500-1 (1970) OIL PUMP Diagram
#
Description
Price
1
COVER, OIL PUMP | 1,2,3 This part replaces 11441-15000.
11441-15001
Unavailable
4
OIL PUMP ASSY | 1; TO 16100-15010
16001-15803
Unavailable
4
OIL PUMP ASSY | 1
16100-15010
Unavailable
5
NO DESCRIPTION AVAILABLE | 2,3; TO 16100-15110 This part replaces 16001-15815.
16100-15111
Unavailable
5
NO DESCRIPTION AVAILABLE | 2,3; Includes Item(s) 6 - 9 This part replaces 16100-15110.
16100-15111
Unavailable
6
TERMINAL, CABLE | 1,2,3
13683-51010
Unavailable
8
UNION BOLT | 1,2,3
09360-06005
Unavailable
10
GASKET, OIL PUMP | 1,2,3
16731-11000
Unavailable
12
GEAR, TACHOMETER DRIVEN | 1,2,3; NT:10
26431-15000
Unavailable
15
HOSE, OIL NO.1 | 1
16810-15031
Unavailable
15
HOSE, OIL NO.1 | 2; TO 16810-15131 This part replaces 16810-15130.
16810-15131
Unavailable
15
HOSE, OIL NO.1 | 3
16810-15131
Unavailable
16
HOSE, OIL NO.2 | 1,2,3
16820-15033
Unavailable
17
HOSE, OIL NO.3 | 1,2,3
16840-15033
Unavailable
20
CLAMP, WIRING HARNESS | 1,2
09403-08304
Unavailable
20
CLAMP | 3 This part replaces 09403-07301.
09403-07309
Unavailable
21
CLAMP, WIRING HARNESS | 1,2,3
09403-00008
Unavailable
