- Partiron
- OEM Parts
- Suzuki
- Motorcycle
- 1972
- T3501 (1972)
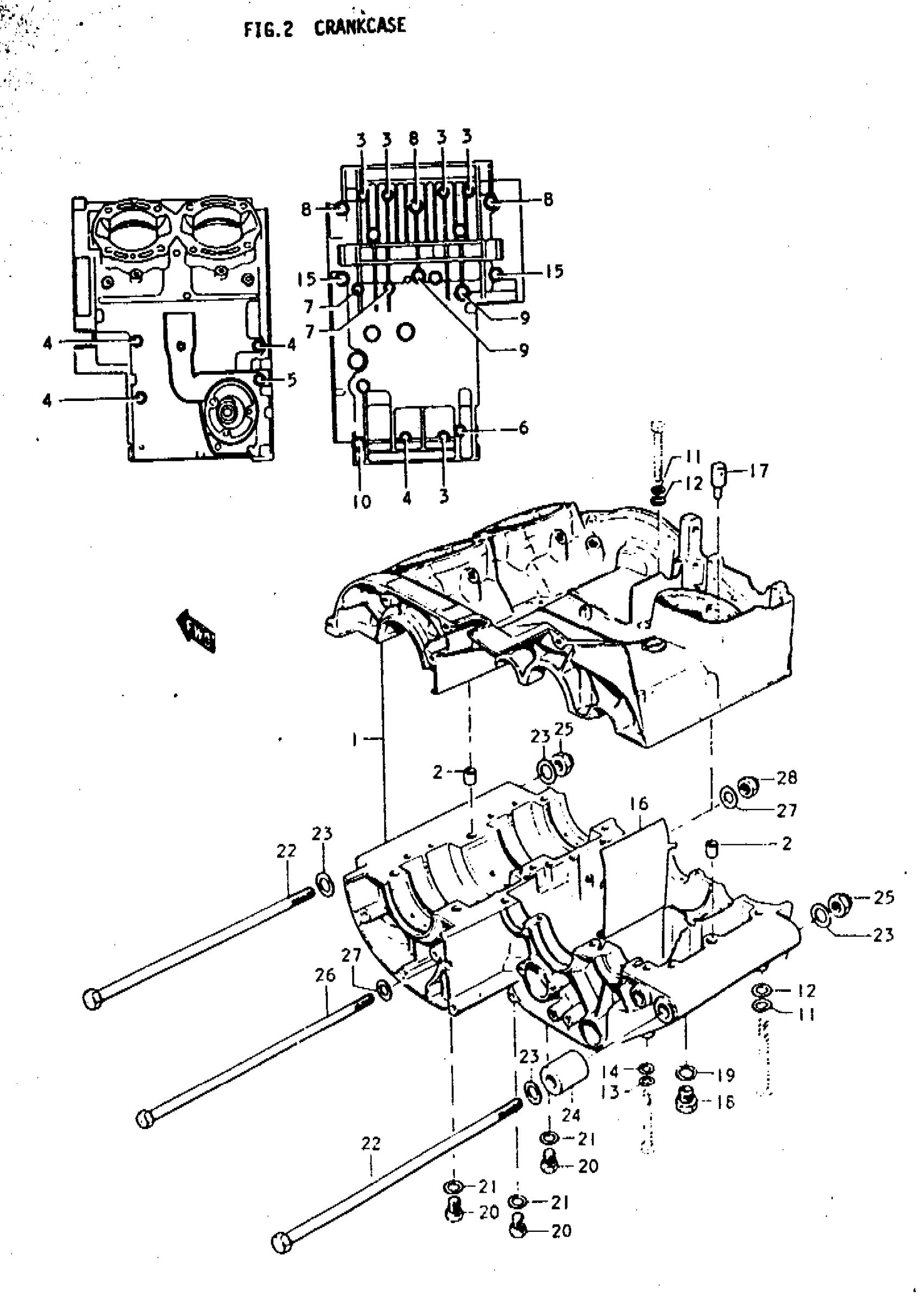
CRANKCASE
Suzuki T3501 (1972) CRANKCASE Diagram
#
Description
Price
1
CRANKCASE ASSY | TO 11300-18830
11303-18801
Unavailable
1
NO DESCRIPTION AVAILABLE | J; TO 11300-18631 USED WITH 09262-20033 AND 09390-52002.; Includes Item(s) 2 - 15 This part replaces 11300-18830.
11300-18832
Unavailable
5
BOLT 6X50 This part replaces 01112-06658.
09100-06038
Unavailable
15
BOLT | 8x100
09100-08023
Unavailable
16
DEFLECTOR, BREATHER
24829-18000
Unavailable
22
BOLT, ONGINE MOUNTING | 12x220
09104-12105
Unavailable
24
SPACER, ENGINE MOUNTING | L:30.4
09180-12028
Unavailable
26
BOLT (10x220) | 10x220 This part replaces 09100-10036.
09100-10170
Unavailable
28
NUT, ENGINE MOUNTING
09159-10001
Unavailable
