- Partiron
- OEM Parts
- Yamaha
- snowmobile
- 2004
- SXV60J (SX VENOM) 8EX1 2004
ELECTRICAL 1
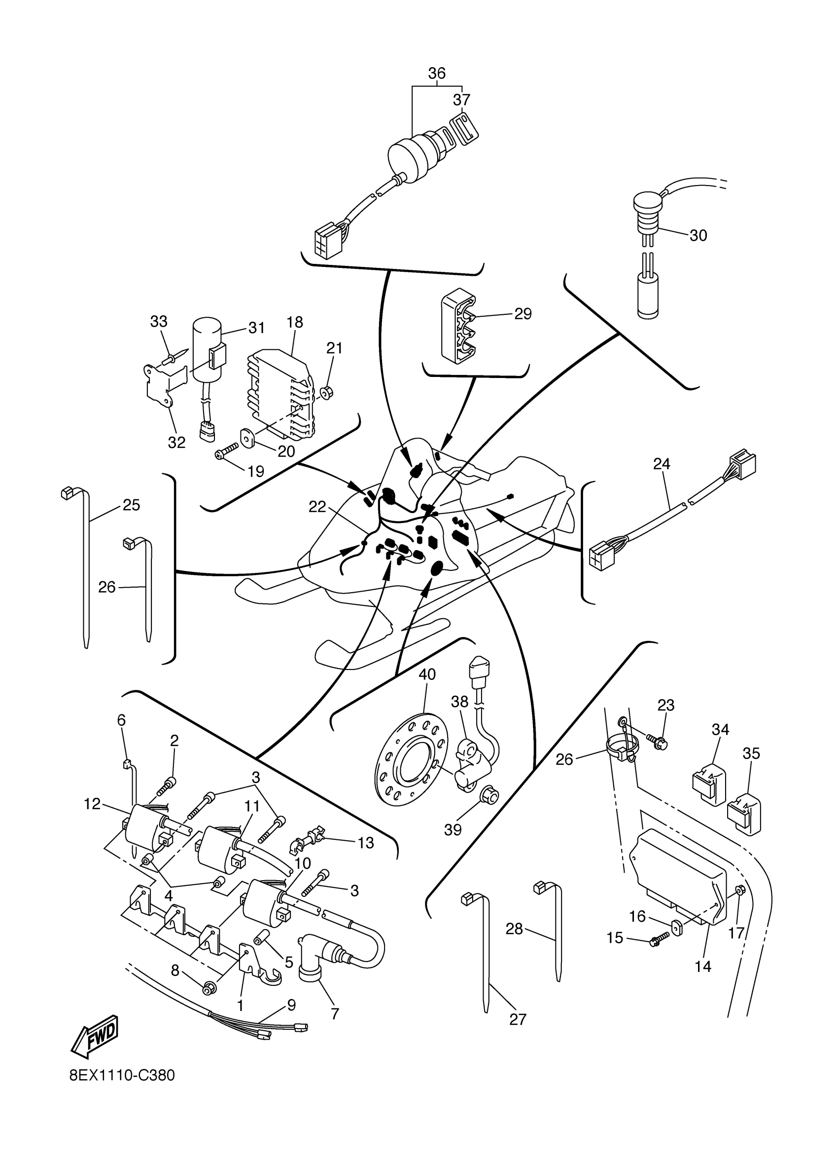
Yamaha SXV60J (SX VENOM) 8EX1 2004 ELECTRICAL 1 Diagram
#
1
BRACKET, IGNITION COIL
8DM-82316-00-00
Unavailable
2
BOLT,SOCKET
91317-06020-00
Unavailable
9
WIRE, SUB LEAD
8DM-82509-00-00
Unavailable
10
IGNITION COIL ASSY
8DF-82310-10-00
Unavailable
11
IGNITION COIL ASSY
8DF-82310-10-00
Unavailable
13
CLAMP
90464-10002-00
Unavailable
14
C.D.I. UNIT ASSY
8EX-85540-00-00
Unavailable
16
NUT,SPEC'L SHAPE
90179-06W01-00
Unavailable
17
NUT, FLANGE(4MV)
95707-06500-00
Unavailable
18
RECTIFIER & REGULATOR ASSY
5BN-81960-00-00
Unavailable
19
SCREW, BINDING
98907-06025-00
Unavailable
20
NUT,SPEC'L SHAPE
90179-06W01-00
Unavailable
21
NUT, FLANGE(4MV)
95707-06500-00
Unavailable
22
WIRE HARNESS ASSY
8EX-82590-00-00
Unavailable
23
BOLT(3JP)
97017-06010-00
Unavailable
24
WIRE, LEAD
8DM-8471G-00-00
Unavailable
25
BAND, SWITCH CORD
25G-83936-01-00
Unavailable
28
CLAMP
90464-13077-00
Unavailable
29
CLAMP
90464-07007-00
Unavailable
30
OIL LEVEL GAUGE ASSY
8CR-85720-02-00
Unavailable
31
CONDENSER, SMOOTHING
8EK-81965-00-00
Unavailable
32
BRACKET
8EK-81948-00-00
Unavailable
33
RIVET, BLIND(8CR)
90267-47186-00
Unavailable
34
RELAY ASSY (8DM-00)
8DM-81950-00-00
Unavailable
35
RELAY ASSY
5DM-81950-01-00
Unavailable
36
MAIN SWITCH ASSY
8FE-82510-00-00
Unavailable
37
CAP, KEY
526-82579-00-00
Unavailable
38
SENSOR, SPEED
8FP-83755-01-00
Unavailable
39
NUT, NYLON
95717-08300-00
Unavailable
40
HOUSING, FRONT AXLE
8EK-47551-00-00
Unavailable
