- Partiron
- OEM Parts
- Honda
- ALL-TERRAIN VEHICLE
- 2025
- SXS700M2DA (25) ALL-TERRAIN VEHICLE (ATV), USA, VIN# 1HFVE02E-S4000001 TO 1HFVE02E-S4099999
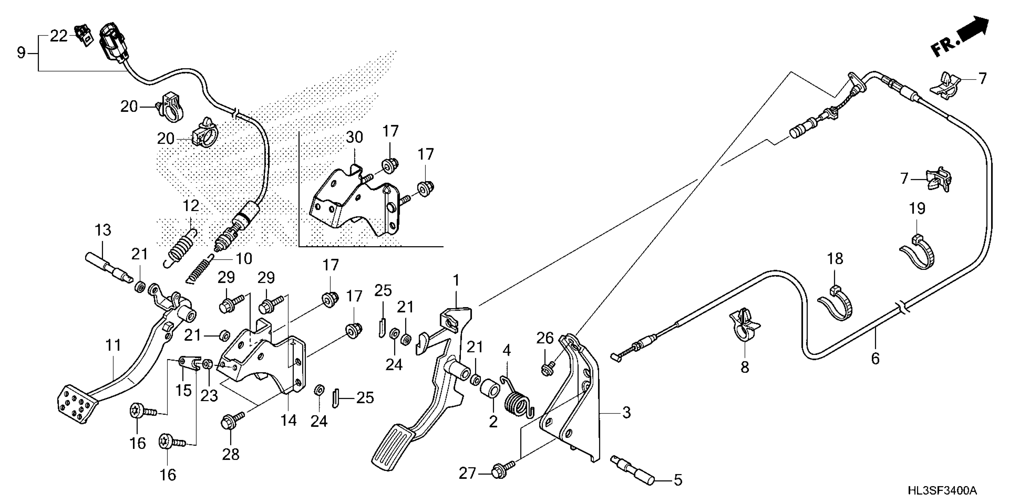
PEDAL
Honda SXS700M2DA (25) ALL-TERRAIN VEHICLE (ATV), USA, VIN# 1HFVE02E-S4000001 TO 1HFVE02E-S4099999 PEDAL Diagram
#
Description
Price
