- Partiron
- OEM Parts
- Honda
- ALL-TERRAIN VEHICLE
- 2016
- SXS700M2AC (16) PIONEER 700, USA, VIN# 1HFVE022-G4200001
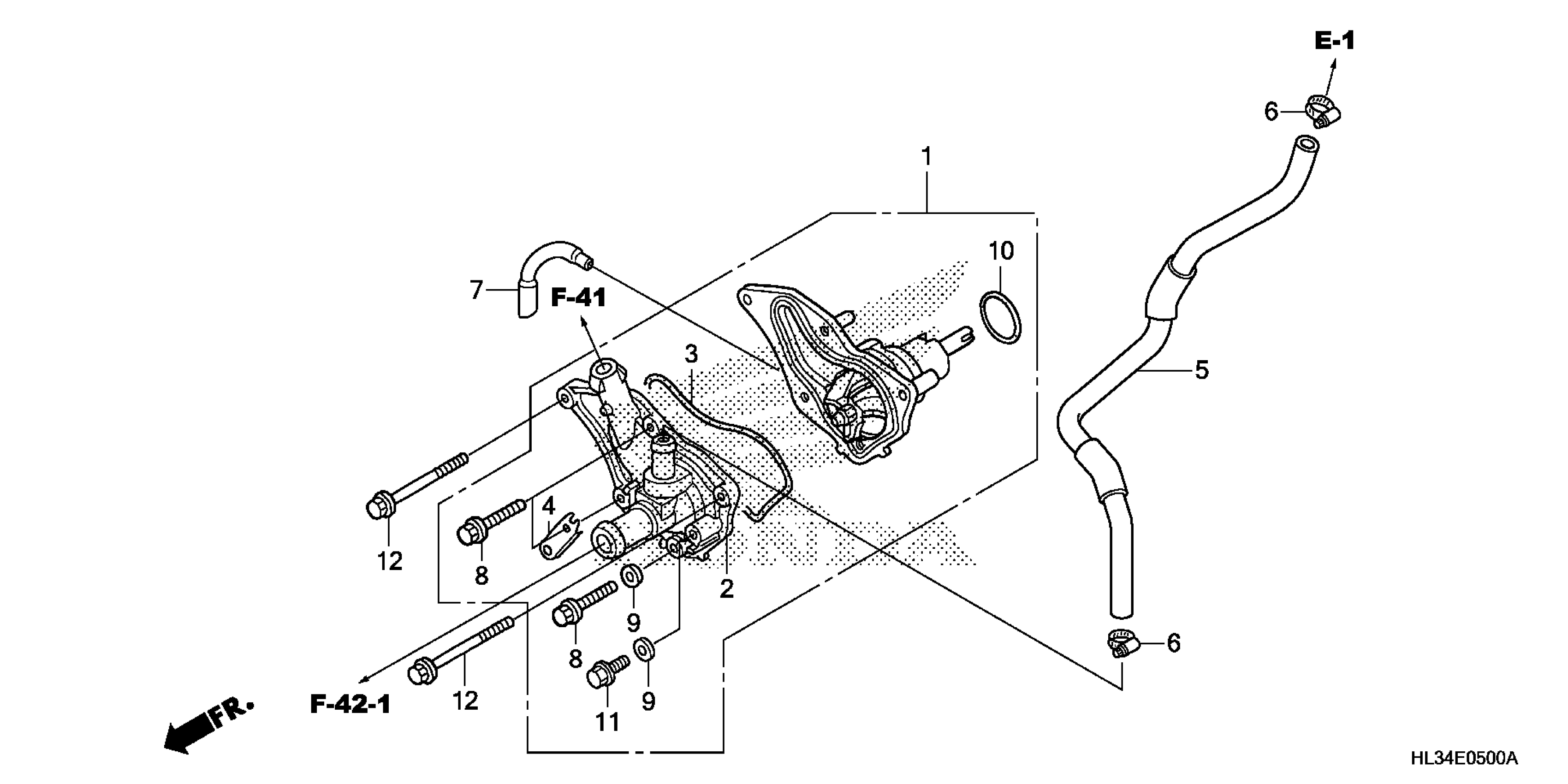
WATER PUMP
Honda SXS700M2AC (16) PIONEER 700, USA, VIN# 1HFVE022-G4200001 WATER PUMP Diagram
#
Description
Price
WATER PUMP
#
Edit ride
