- Partiron
- OEM Parts
- Honda
- ALL-TERRAIN VEHICLE
- 2016
- SXS700M22AC (16) PIONEER 700, USA, VIN# 1HFVE028-G4200001
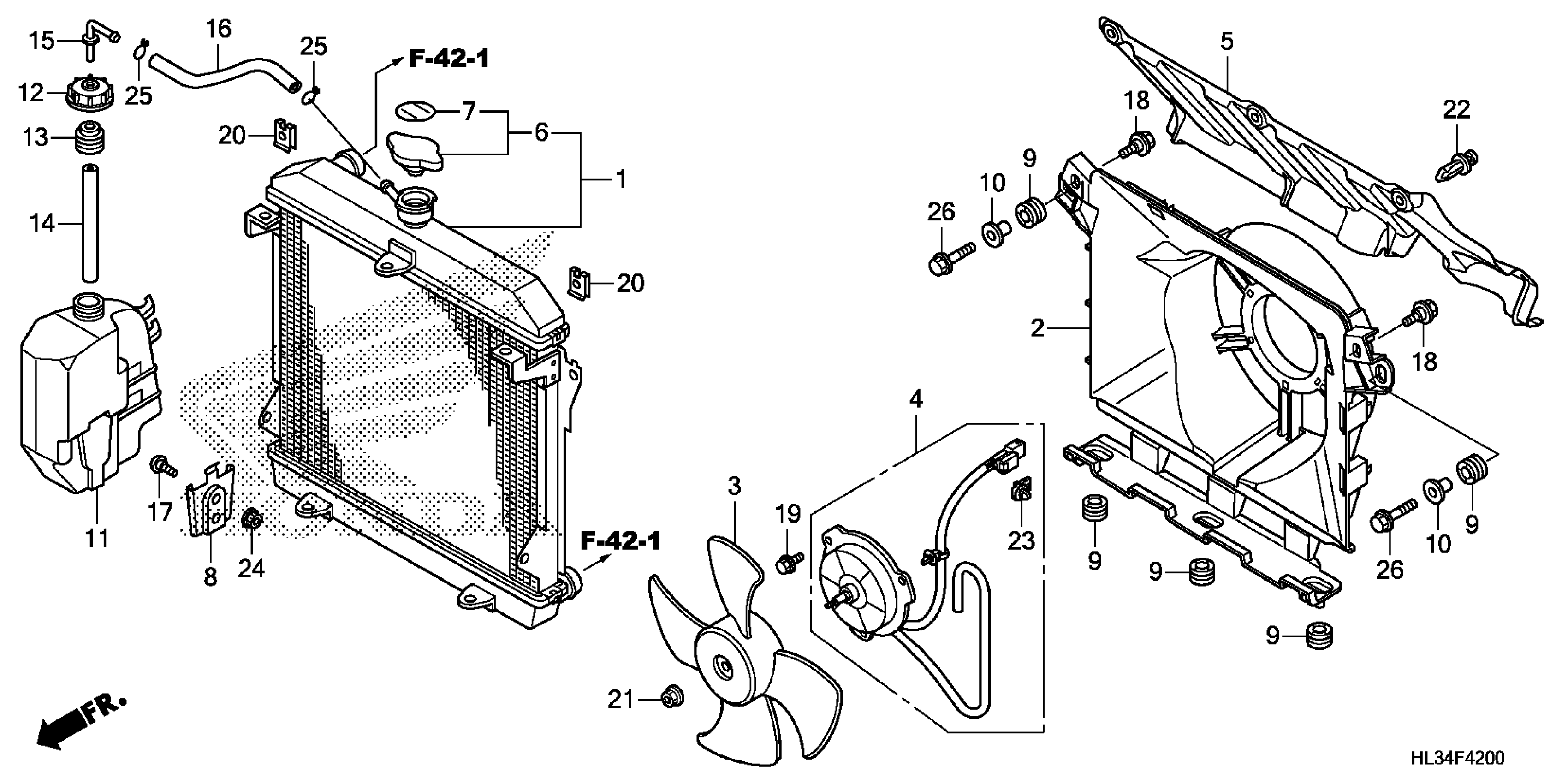
RADIATOR
Honda SXS700M22AC (16) PIONEER 700, USA, VIN# 1HFVE028-G4200001 RADIATOR Diagram
#
Description
Price
RADIATOR
#
Edit ride
