Partiron

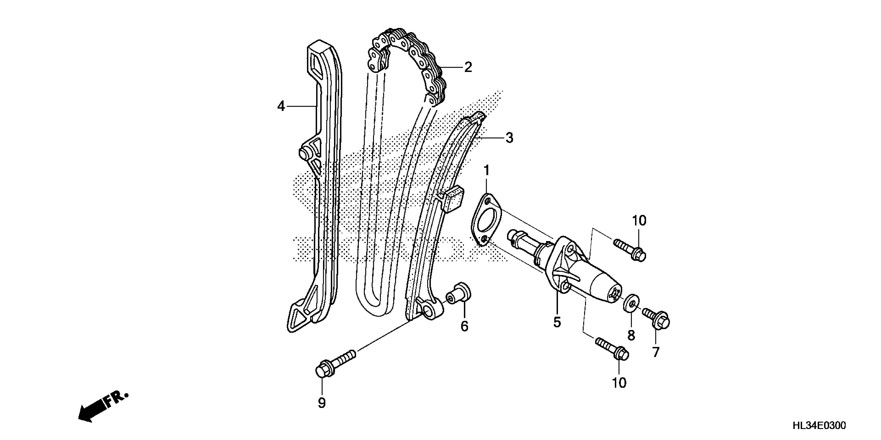
Honda SXS700M22AC (16) PIONEER 700, USA, VIN# 1HFVE028-G4200001 CAM CHAIN@TENSIONER Diagram

#

Description
Price

1

GASKET, TENSIONER HOLE

12194-HC5-740

$2.48

2

CHAIN, CAM (110L) (BORG WARNER)

14401-HN8-A61

$65.31

3

TENSIONER, CAM CHAIN

14510-HN8-013

$59.83

4

GUIDE, CAM CHAIN

14515-HN8-003

$39.87

5

LIFTER ASSY., TENSIONER

14520-HN8-A61

$90.78

6

COLLAR, TENSIONER

14521-HN8-000

$3.08

7

BOLT, FLANGE (6X13)

90002-HA7-670

$4.24

8

WASHER, SEALING (6MM)

90442-397-000

$2.28

9

BOLT, FLANGE (6X22)

95701-06022-00

$1.80

10

BOLT, FLANGE (6X25)

96001-06025-00

$2.00