- Partiron
- OEM Parts
- Honda
- ALL-TERRAIN VEHICLE
- 2022
- SXS1000S2R5A (22) ALL-TERRAIN VEHICLE (ATV), USA, VIN# 1HFVE057-N4300001
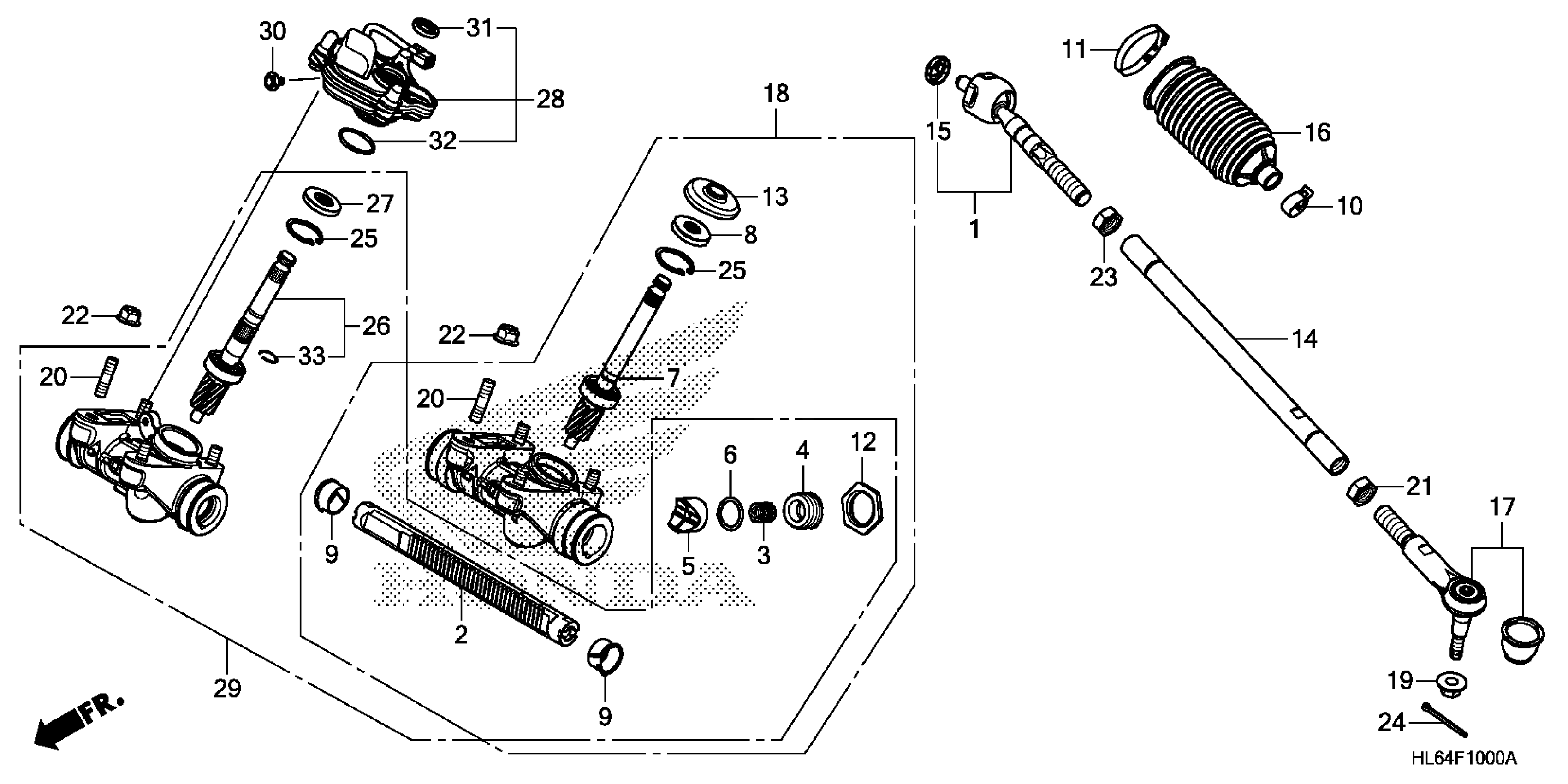
STEERING GEAR BOX@TIE ROD
Honda SXS1000S2R5A (22) ALL-TERRAIN VEHICLE (ATV), USA, VIN# 1HFVE057-N4300001 STEERING GEAR BOX@TIE ROD Diagram
#
Description
Price
12
NUT, LOCK This part replaces 53458-SE0-003.
53458-S01-A51
Unavailable
